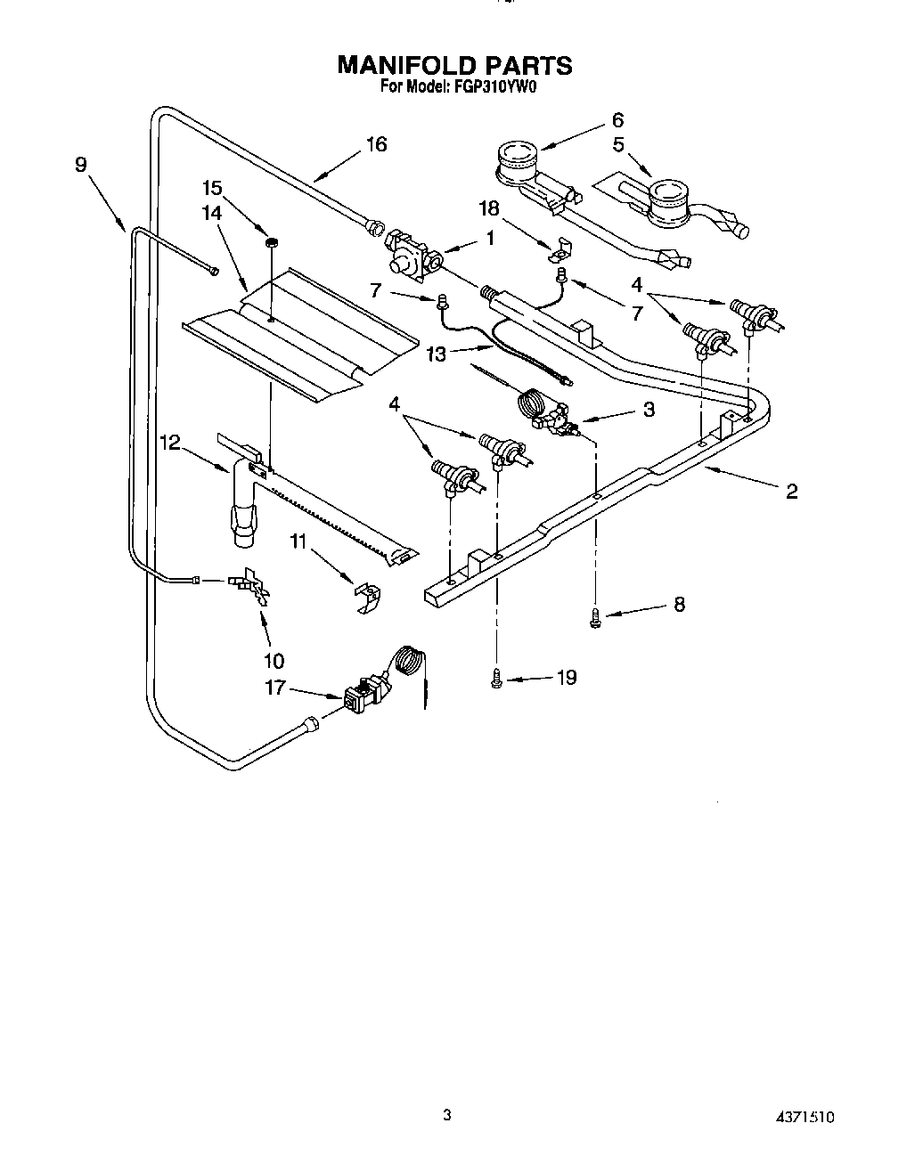
FGP310YW0 03 – MANIFOLD