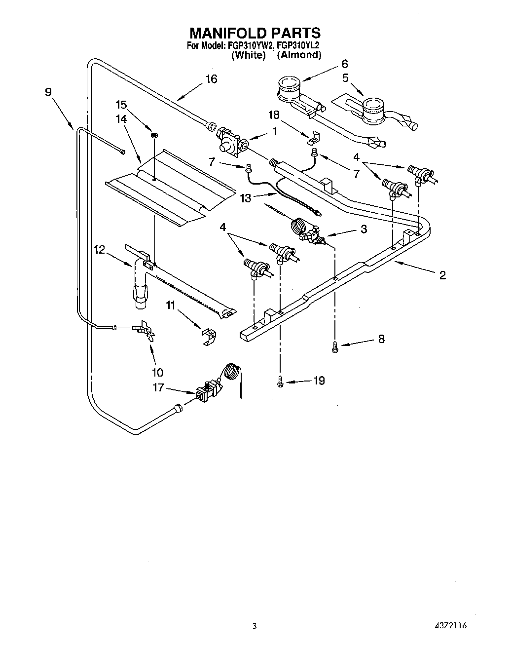
FGP310YW2 02 – MANIFOLD