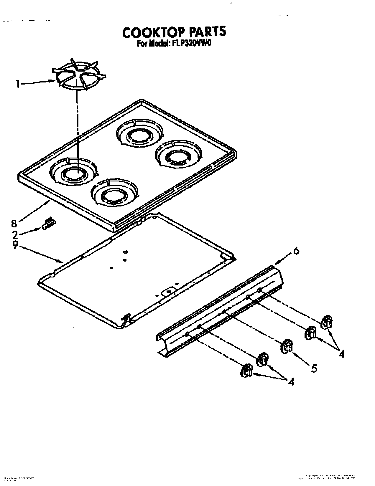
FGP320VL0 04 – COOKTOPadmin2025-04-26T08:40:27+00:00FGP320VL0 04 – COOKTOP ProductsPositionProduct1Grate (4)2Bracket, Support (2)2WP308685 Whirlpool Microwave Screw4Knob, Gas Valve5Knob, Thermostat6Panel, Manifold8Cooktop (Almond)8Top, Main (White)9Burner Box