FGP325YL0 04 – DOOR AND BROILERadmin2025-04-26T08:40:50+00:00FGP325YL0 04 – DOOR AND BROILER
Products
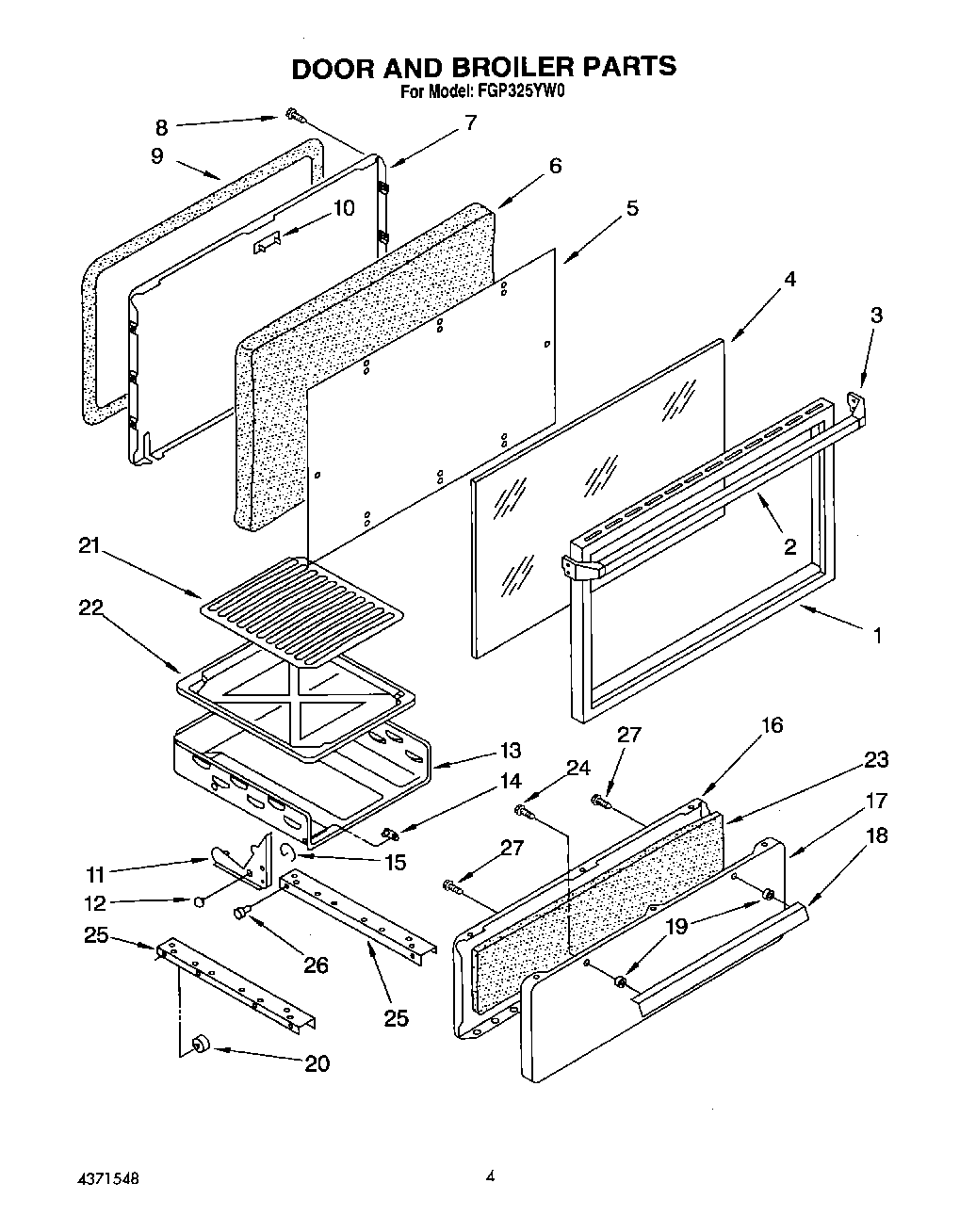
| Position | Product |
|---|
| 1 | Trim, Door |
| 2 | Handle, Door |
| 3 | Endcap (2) |
| 4 | Glass, Door Blk |
| 5 | Shield, Heat |
| 6 | Insulation |
| 7 | Liner, Oven Door |
| 8 | Screw, Handle |
| 9 | Seal, Door |
| 10 | Cover, Door |
| 11 | Bracket, Hinge (L.H.) |
| 11 | Bracket, Hinge (R.H.) |
| 12 | Fastener, Push Nut |
| 13 | Body, Broiler |
| 14 | Pin, Hinge (2) |
| 15 | Spring, Broiler (R.H.) |
| 15 | Spring, Broiler (L.H.) |
| 16 | Liner, Broiler Door |
| 17 | Panel, Drawer (White) |
| 17 | Panel, Drawer (Almond) |
| 18 | Handle |
| 19 | Spacer, Handle |
| 20 | Glide, Drawer (6) |
| 21 | Insert, Broiler Pan |
| 22 | Pan, Broiler |
| 23 | Insulation |
| 24 | Screw, Handle (2) |
| 25 | Channel, Broiler |
| 26 | Button, Glide (2) |
| 27 | Screw, Panel (4) |