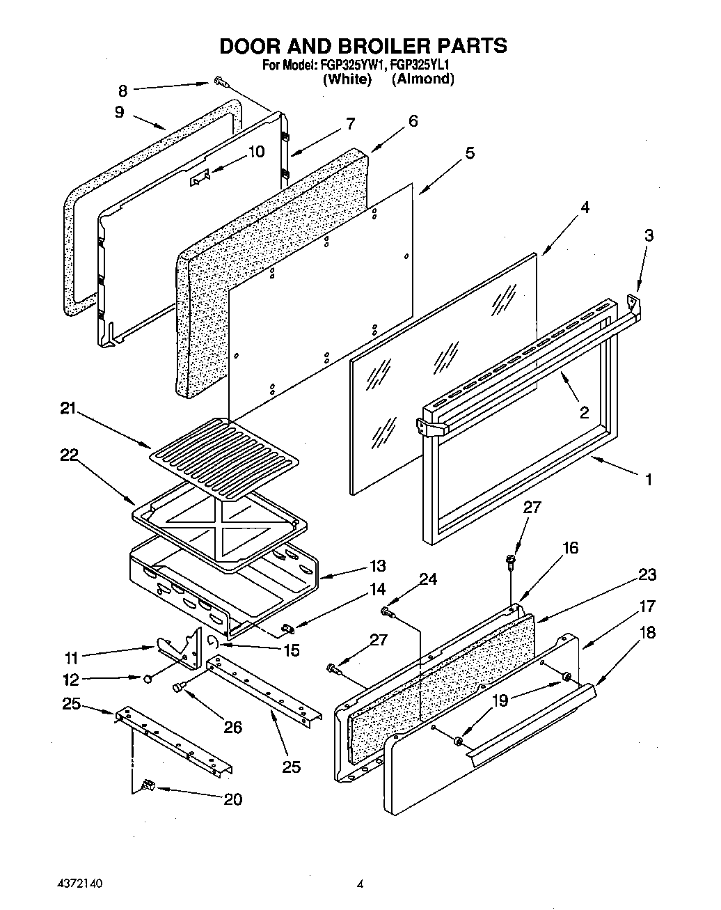
FGP325YL1 03 – DOOR AND BROILER