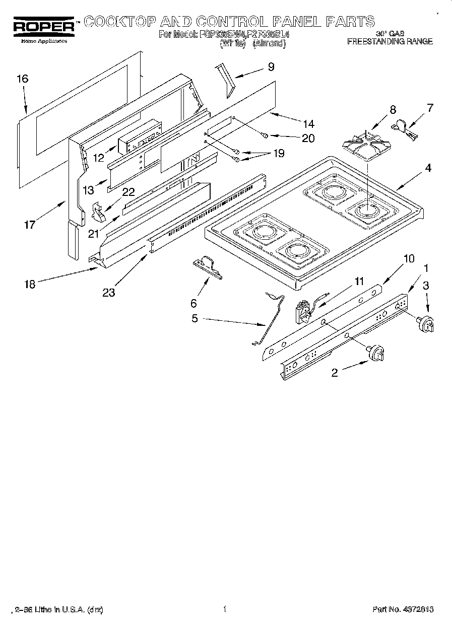
FGP335BL4 01 – COOKTOP AND CONTROL PANELadmin2025-04-26T08:40:39+00:00FGP335BL4 01 – COOKTOP AND CONTROL PANEL
Products
| Position | Product |
|---|
| Guide, Use & Care |
| Installation, Instructions |
| 1 | Panel, Control |
| 2 | Knob, Thermostat |
| 3 | Knob, Burner (4) |
| 4 | Top, Main (White) |
| 4 | Top, Main (Almond) |
| 5 | Rod, Support Top |
| 6 | Bracket, Hinge LH |
| 7 | Bracket, Hinge RH |
| 8 | Grate, Burner (4) |
| 9 | Cap, End (L.H.) |
| 9 | Cap, End (R.H.) |
| 10 | Cover, Manifold |
| 11 | Thermostat, Oven |
| 12 | Clock |
| 13 | Bracket, Timer |
| 14 | Panel, Control |
| 16 | Shield, Rear Wall |
| 17 | Trim, Wrapper |
| 18 | Trim, Splasher (White) |
| 19 | Button, Hour/Minute (2) |
| 20 | Button, Clock/Timer |
| 21 | Retainer, Timer |
| 22 | Brace, Backguard |
| 23 | Trim, Vent |