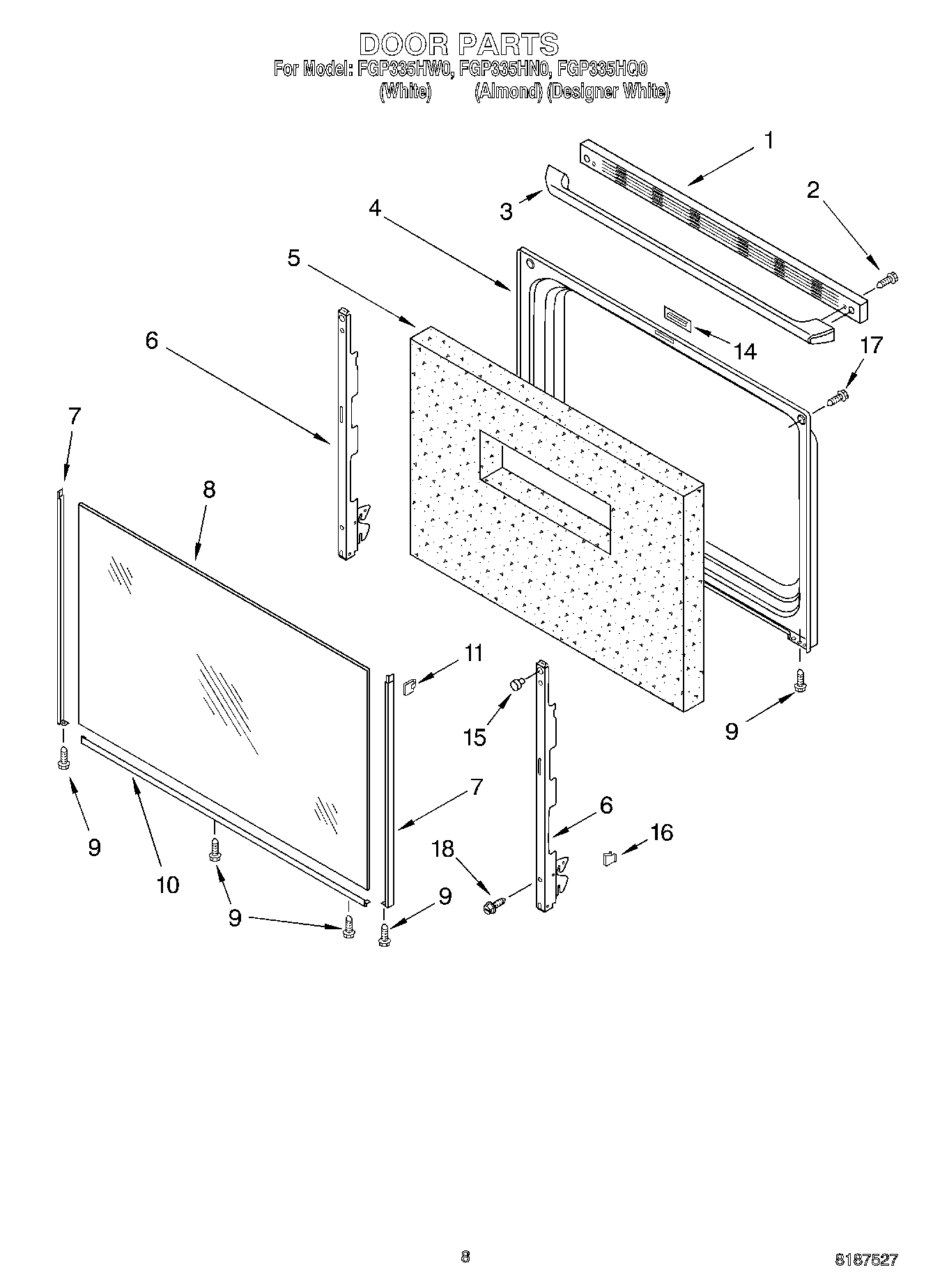
FGP335HW0 06 – DOOR

FGP335HW0 06 – DOOR