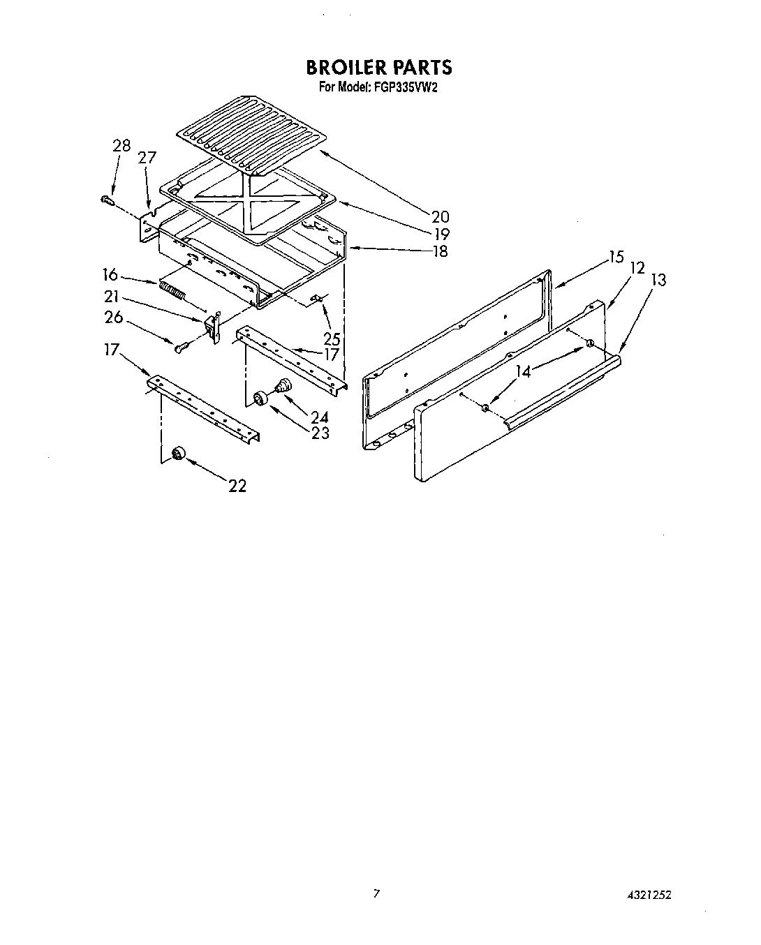
FGP335VW2 07 – BROILER