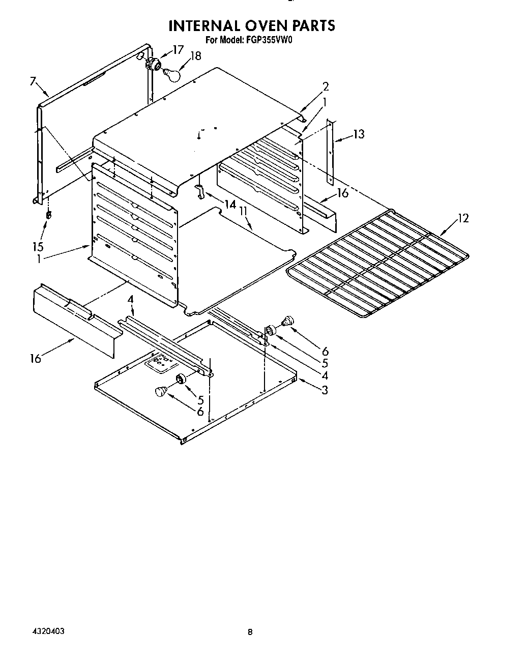
FGP355VL0 06 – INTERNAL OVEN