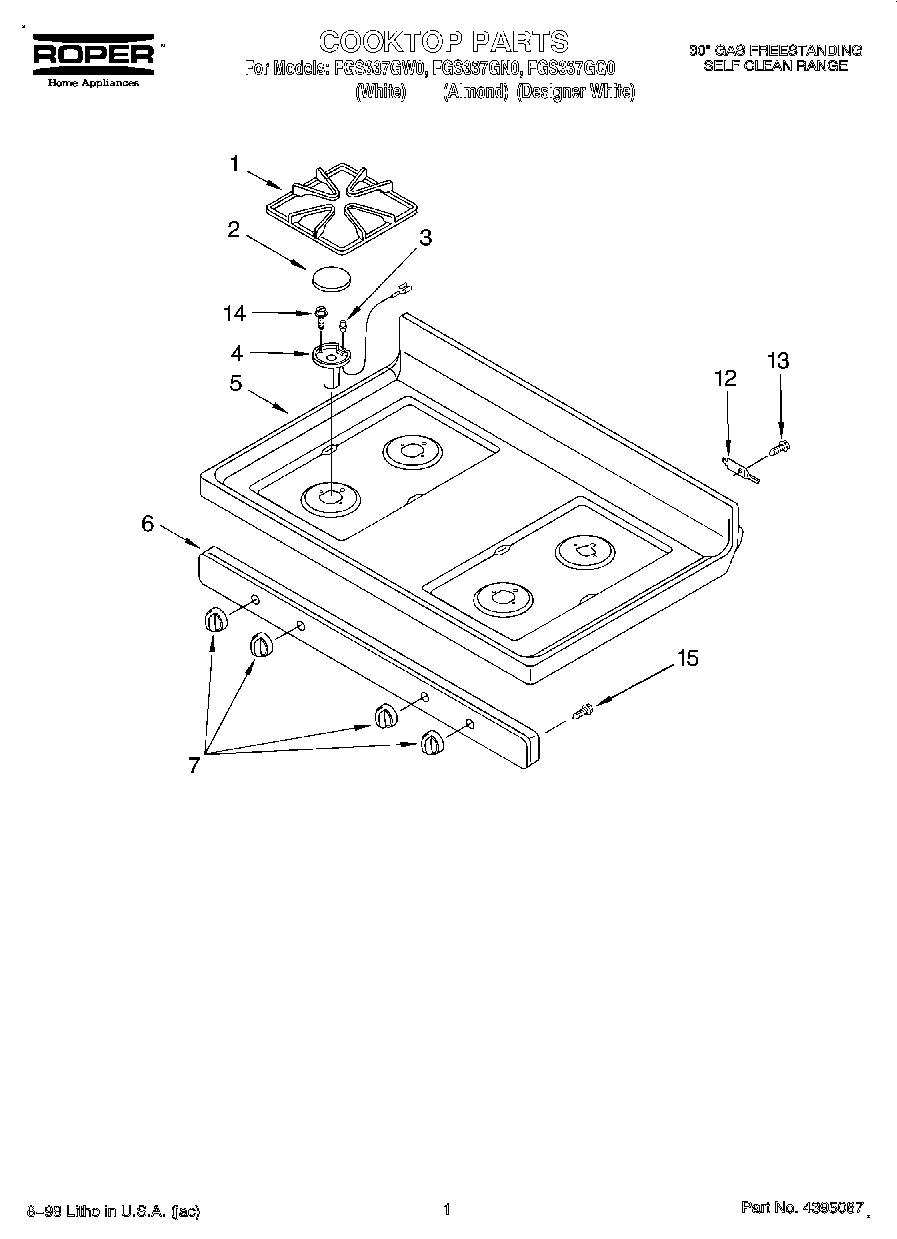
FGS337GN0 01 – COOKTOP