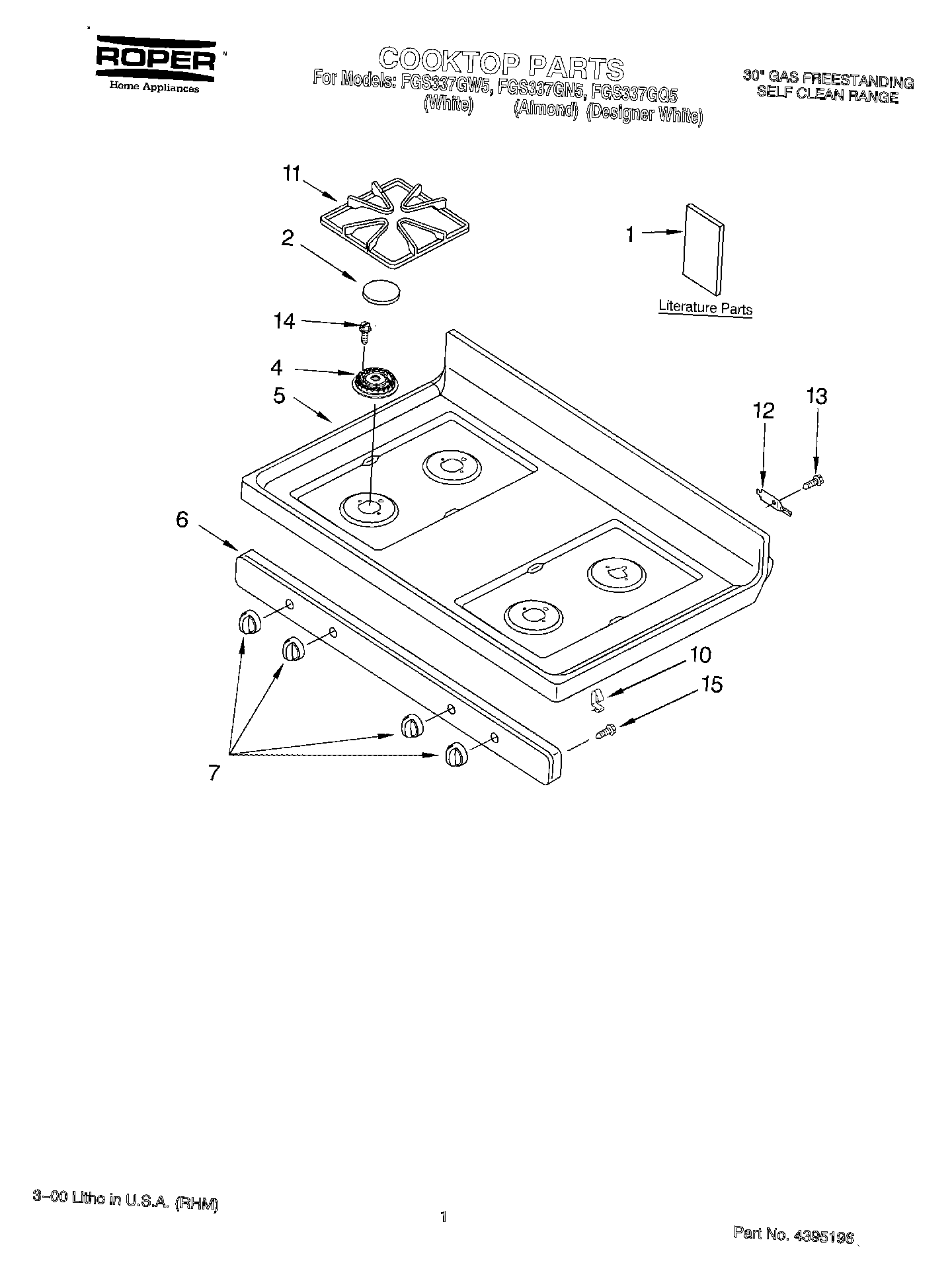
FGS337GN5 01 – COOKTOP, LITERATUREadmin2025-04-26T08:40:55+00:00FGS337GN5 01 – COOKTOP, LITERATURE ProductsPositionProduct1Safer Cooking Tips1Literature Parts (Instructions, Installation)1Literature Parts (Tech Sheet)1Literature Parts (Guide, Use & Care)1Literature (Installation, Instructions (Template))2WP3191898 Whirlpool Surface Burner Cap Black2WP3191901 Whirlpool Burner Cap4WP4455980 Whirlpool Burner Head4WP4455979 Whirlpool Range Small Burner Head5W11213959 Whirlpool Cooktop5Cooktop (Almond)6Panel, Manifold (White)6Panel, Manifold (Black)7Knob, Accusimmer (Almond)7Knob, Burner (4) (Black)10Clip - Mounting11WPW10268483 Whirlpool Grate Kit12WP3195060 Whirlpool Cooktop Pin13SCREW14WP3368921 Whirlpool Screw15WP3196557 Whirlpool Screw