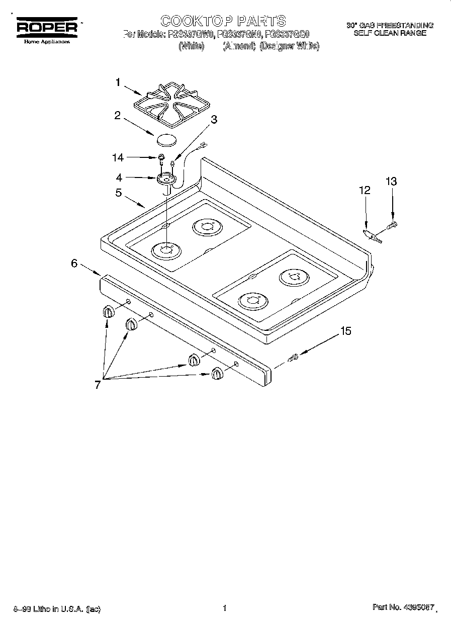
FGS337GQ0 01 – COOKTOP