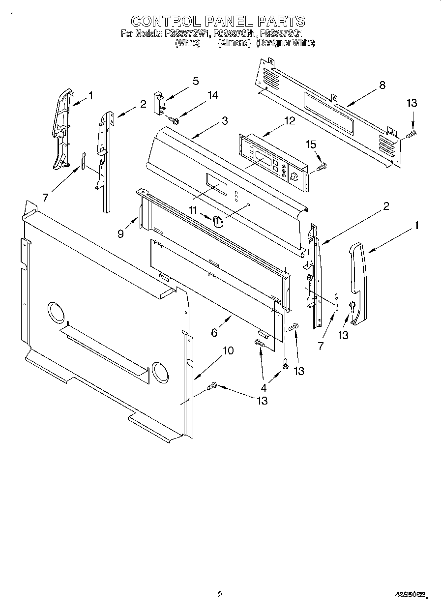
FGS337GW1 02 – CONTROL PANELadmin2025-04-26T08:41:11+00:00FGS337GW1 02 – CONTROL PANEL ProductsPositionProduct1Endcap (Left Hand)1Endcap (Right Hand)1Endcap (Left Hand)1Endcap (Right Hand)2Support, Endcap (Right Hand)2Support, Endcap (Left Hand)3Panel, Backguard (White)3Panel, Backguard (Black)4Screw5WP8053421 Whirlpool Oven Spark Module68053505 Whirlpool Oven Shield73196200 Whirlpool Clip8Cover, Upper9Shield, Heat10Cover, Lower11Knob-150 Control (Black)11Knob-150 Control (White)12Control, Range (White)12Control, Oven (Black)13SCREW14WPY706189 Whirlpool Stove Screw15WP3196175 Whirlpool Screw