FGS385BW4 04 – CONTROL PANELadmin2025-04-26T08:40:48+00:00FGS385BW4 04 – CONTROL PANEL
Products
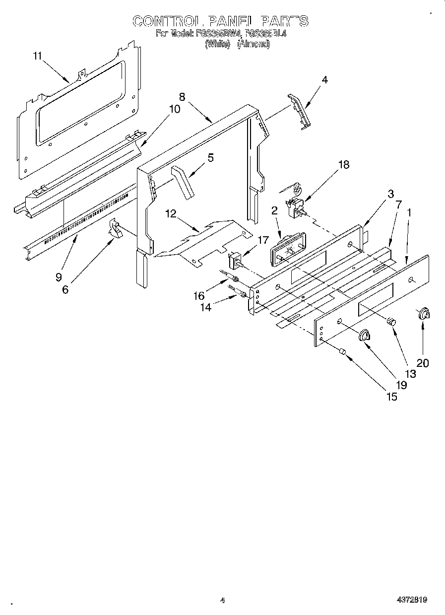
| Position | Product |
|---|
| 1 | Panel, Control |
| 2 | Clock, Timer |
| 3 | Bracket, Timer |
| 4 | Cap, End (R.H.) |
| 5 | Cap, End (L.H.) |
| 6 | Brace, Backguard |
| 7 | Retainer, Timer |
| 8 | Trim, Wrapper |
| 9 | Trim, Vent |
| 10 | Trim, Splasher (White) |
| 10 | Trim, Splasher (Almond) |
| 11 | Shield, Rear Wall |
| 12 | Shield, Inner Bkgd |
| 13 | Knob, Clock (3) |
| 14 | Light, Indicator (2) |
| 15 | Lens, Ind Light (3) |
| 16 | Light, Indicator |
| 17 | Switch, Selector |
| 18 | Thermostat |
| 19 | Knob, Selector |
| 20 | Knob, Thermostat |