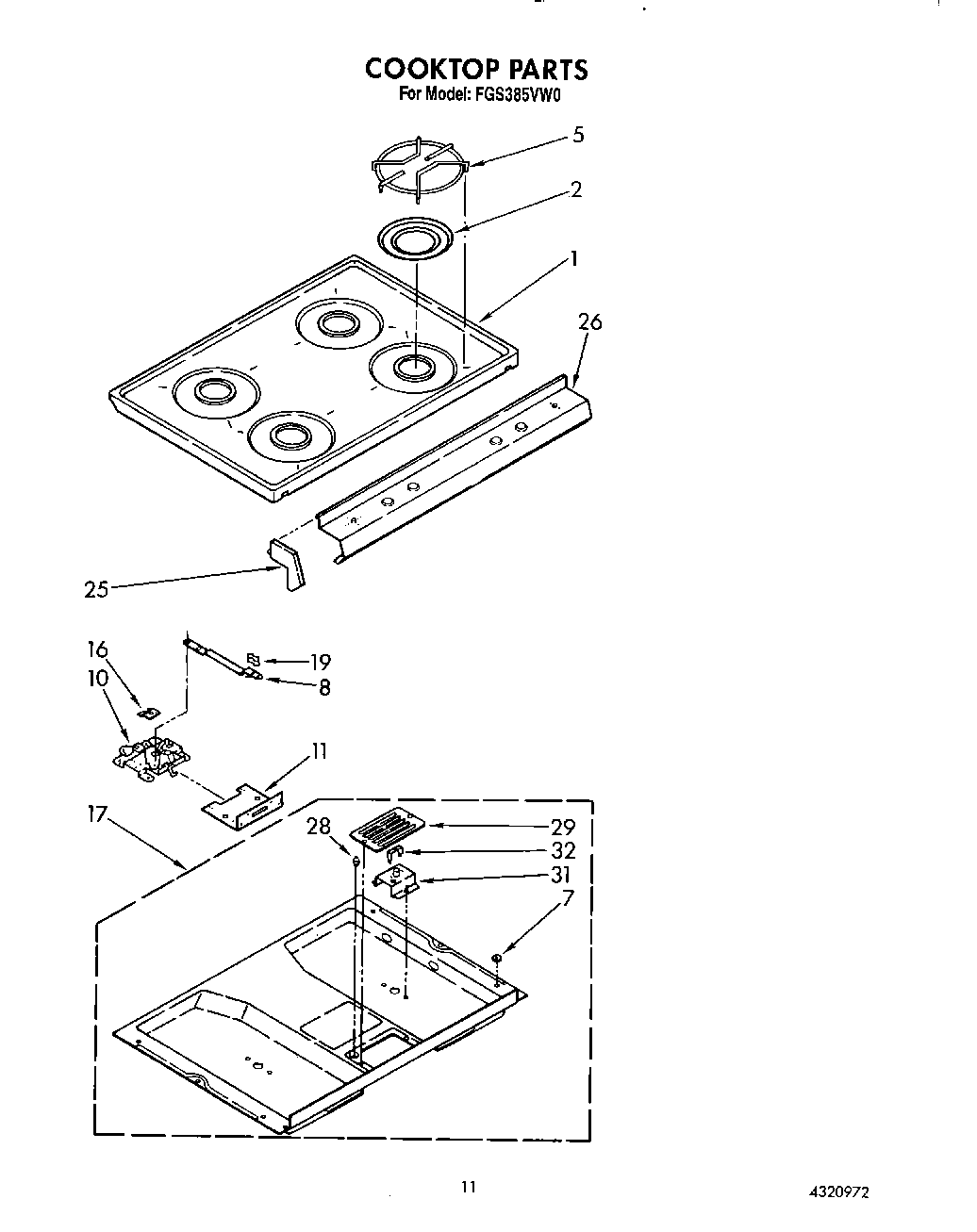
FGS385VW0 08 – COOKTOP