FGS395YL0 08 – DOOR AND DRAWERadmin2025-04-26T08:45:07+00:00FGS395YL0 08 – DOOR AND DRAWER
Products
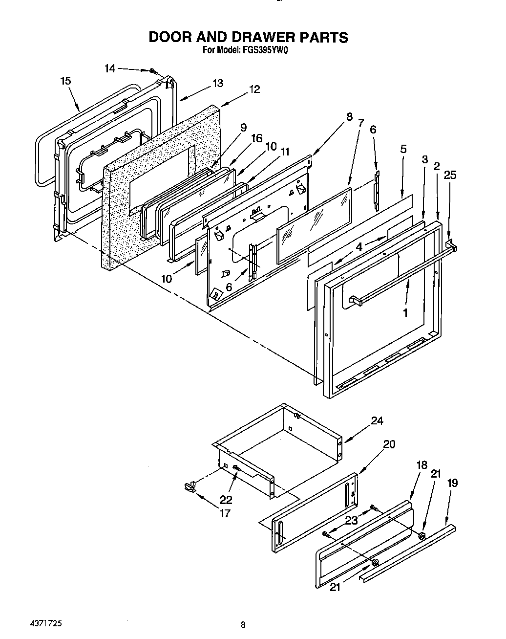
| Position | Product |
|---|
| 1 | Handle, Door |
| 2 | Trim, Door |
| 3 | Glass, Door |
| 4 | Foil, Alum. (2) |
| 5 | Foil, Alum. |
| 6 | Bracket, Glass |
| 7 | Glass, Oven Door |
| 8 | Shield, Heat |
| 9 | Collar, Glass |
| 10 | Glass, Heat Barrier (2) |
| 11 | Spacer, Glass |
| 12 | Insulation, Door |
| 13 | Liner, Oven Door |
| 14 | Screw, Handle |
| 15 | Seal, Oven Door |
| 16 | Seal, Rope |
| 17 | Guide, Drawer |
| 18 | Panel, Drawer (Almond) |
| 18 | Panel, Drawer (White) |
| 19 | Handle, Utility Drawer |
| 20 | Shield, Panel |
| 21 | Spacer, Handle |
| 22 | Screw, Panel (4) |
| 23 | Screw, Handle (2) |
| 24 | Drawer, Utility |
| 25 | Endcap (2) |