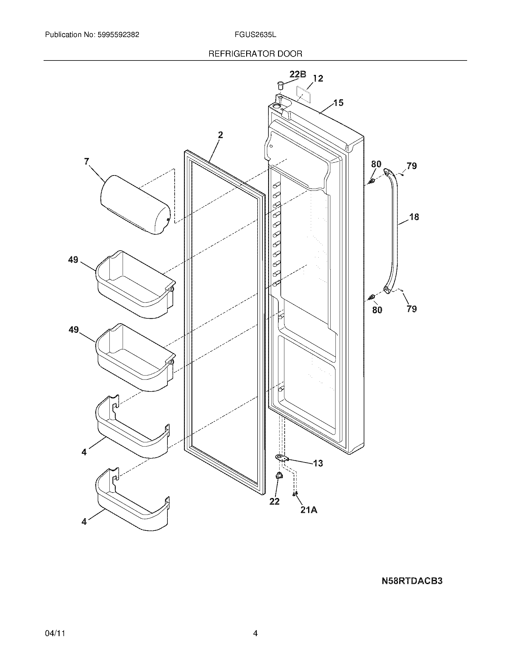
FGUS2635LP1 05 – REFRIGERATOR DOORadmin2025-04-26T08:38:01+00:00FGUS2635LP1 05 – REFRIGERATOR DOOR ProductsPositionProductNI5304467131 Frigidaire Refrigerator WrenchNI241701902 Frigidaire Refrigerator 3/32" Screwdriver2241786001 Frigidaire Door Gasket4240323002 Frigidaire Bottom Clear Door Bin7WCI 24032620312242015201 Frigidaire Nameplate13241990201 Frigidaire Refrigerator Door Stop15WCI 24203884718WCI 24208450121A240442708 Frigidaire Refrigerator Screw-#10-32 X 3/422241990301 Frigidaire Hinge Bearing22B241760403 Frigidaire Refrigerator Bearing49240356402 Frigidaire Refrigerator Gallon Door Bin79218755402 Frigidaire Refrigerator Set Screw80218755504 Frigidaire Refrigerator Shoulder Screw