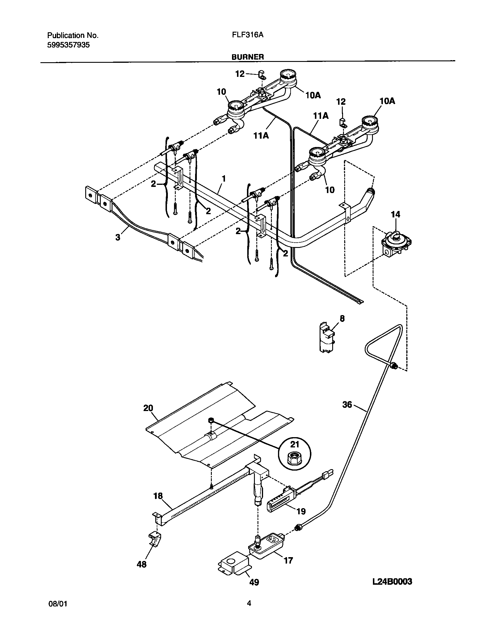
FLF316AQA 05 – BURNER