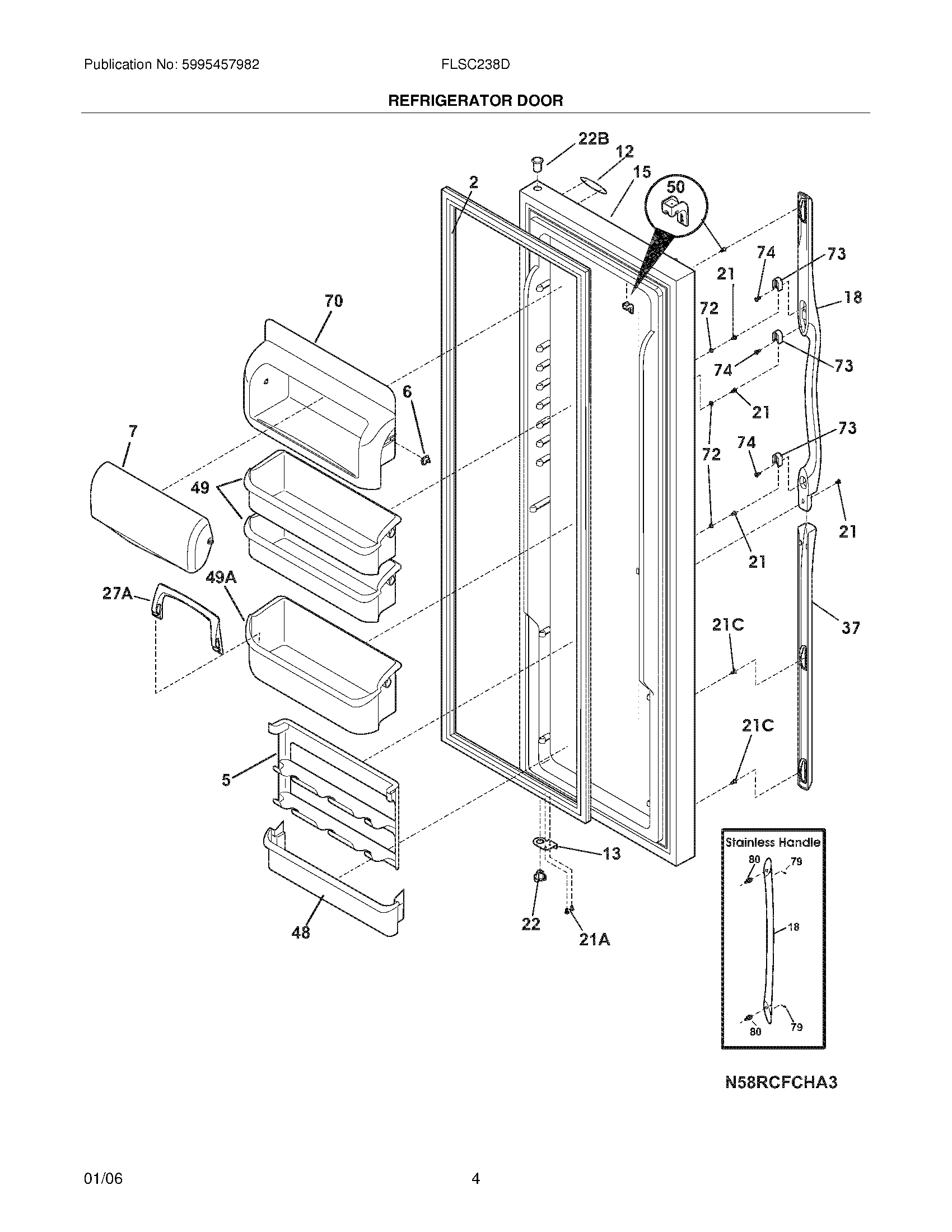
FLSC238DW2 05 – REFRIGERATOR DOOR