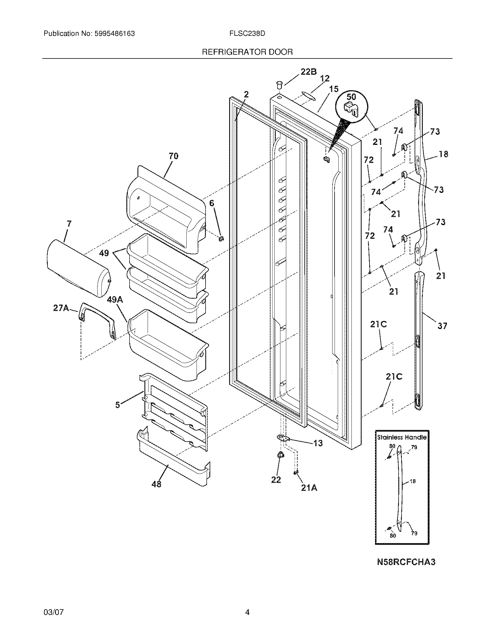
FLSC238DW4 05 – REFRIGERATOR DOORadmin2025-04-26T08:38:33+00:00FLSC238DW4 05 – REFRIGERATOR DOOR ProductsPositionProduct2241510201 Frigidaire Refrigerator Door Gasket OS25WCI 2415161026241515901 Frigidaire Refrigerator Dairy Compartment Lug7241515606 Frigidaire Refrigerator Door-Dairy12WCI 24057260113240581901 Frigidaire Refrigerator Door Stop15WCI 24153450418WCI 24171170121218781101 Frigidaire Handle Screw21A240598402 Frigidaire Refrigerator Screw21CWCI 24052130422240328201 Frigidaire Refrigerator Hinge Bearing22B240328402 Frigidaire Refrigerator Bearing Hinge27A240396102 Frigidaire Refrigerator Retainer37WCI 24171160148241511701 Frigidaire Refrigerator Door Bin49241505301 Frigidaire Refrigerator Shelf Bin-Door (2 Liter)49A241505501 Frigidaire Refrigerator Door Bin50WCI 24150840170241515801 Frigidaire Refrigerator Compartment72WCI 24042170173218396700 Frigidaire Door Handle Mounting Block74WCI 215503204