| *84800 | WCI G162977-11 |
| *84795 | WCI G168541 |
| *84771 | WCI G164571 |
| *84778 | BUTTON, PLUG, LINER (2) |
| *84772 | WCI G166801 |
| *84798 | TAPPING PLATE (2) |
| *84773 | WCI G166800 |
| *84774 | FERRULE, OUTER |
| *84777 | WCI G180728 |
| *84794 | WIRING HARNESS-ICE MAKER-UPPER |
| *84775 | FERRULE, INNER |
| *84796 | WCI G185586 |
| *84776 | WCI G185653 |
| *84797 | 5303001147 Frigidaire Refrigerator Plug-Harness Hole |
| *84799 | WCI G183100-44 |
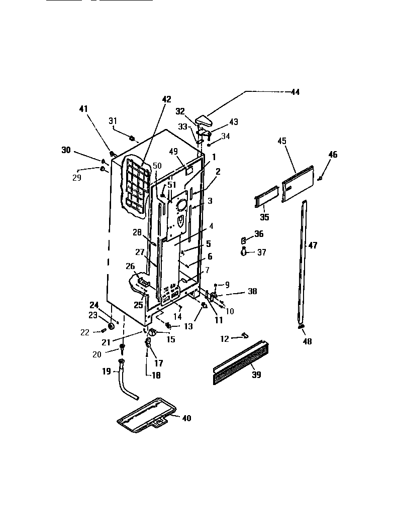
| 1 | COIL COVER-UPPER |
| 2 | WCI G165233 |
| 3 | GASKET-COVER LS |
| 4 | COIL COVER-LOWER |
| 5 | WCI G162703 |
| 6 | 216858001 Frigidaire Refrigerator Screw |
| 7A | 5304455650 Frigidaire Refrigerator Screw |
| 7 | WCI G164912-03 |
| 9 | WASHER, NYLON |
| 10 | SCREW - 1/4 X 1 (2) |
| 11 | SHIM, HINGE |
| 12 | CLIP, GRILLE |
| 13 | 5303289051 Frigidaire Refrigerator Light Switch |
| 15 | WCI G177743 |
| 15A | NUT, INLET TO SOLENOID VALVE |
| 17 | ROLLER ASSEMBLY - FRONT (2) |
| 18 | BOLT, HOUSING TO FRONT RAIL (2) |
| 19 | 241957901 Frigidaire Refrigerator Tube-Drain |
| 20 | WCI G171193 |
| 21 | COVER-BOTTOM HINGE |
| 22 | WCI G162809 |
| 23 | ROLLER (2) |
| 24 | NUT, DAMPER MOUNTING |
| 25 | WCI G184851 |
| 26 | WCI G158022 |
| 27 | GASKET R & L COVER (2) |
| 28 | WCI G169471 |
| 29 | WCI G174733 |
| 30 | WCI G174734 |
| 31 | TUBE, INSULATION (2) |
| 32 | 241710601 Frigidaire Refrigerator Screw |
| 35 | WCI G182527-03 |
| 36 | 218906802 Frigidaire Light Lamp Socket |
| 37 | 316538904 Frigidaire Oven Lamp Light |
| 38D | NUT, SPEED (2) |
| 38 | BRACKET-LOWER HINGE |
| 38B | WCI G141673 |
| 38A | HINGE-BOTTOM LS (NON-ILLUSTRATED) |
| 38C | WCI G142361 |
| 39 | GRILLE |
| 40 | WCI G171125 |
| 41 | 215456100 Frigidaire Refrigerator Water Inlet Tube |
| 41A | 5303001193 Frigidaire Refrigerator Clamp |
| 41B | WCI G175439 |
| 42 | DIVIDER I.M. |
| 42A | SUPPORT |
| 43A | WCI G183716 |
| 43C | WCI G183861 |
| 43 | HINGE-TOP RS |
| 43E | WASHER, NYLON 5/16 X 5/8 (CTR & LOWER HINGE BRACKET) |
| 44A | COVER, TOP HINGE, ALMOND |
| 45 | WCI G169601-12 |
| 46 | WCI G165177 |
| 47D | MULLION-ALMD |
| 48D | TRIM-MULLN-ALMD |
| 49 | PAD, FOAM (2) |
| 50 | GASKET-COVER RS |
| 51 | WCI G163669 |