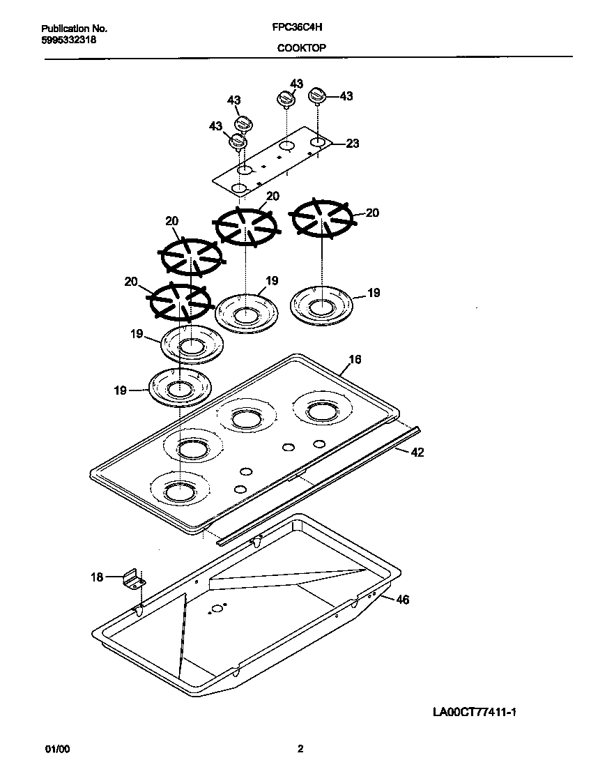
FPC36C4HWA 02 – TOP
Products
| Position | Product |
|---|---|
| *57841 | NUT, KEPS, 8-32, (2) |
| *57840 | WCI 318068140 |
| 16 | WCI 318159311 |
| 18 | HINGE MAIN TOP |
| 19 | PAN-BURNER BLACK |
| 20 | 316055800 Frigidaire Oven Grate |
| 23 | WCI 318021700 |
| 42 | TRIM-VENT |
| 43 | KNOB-CONTROL BLACK |
| 46 | WCI 318077111 |