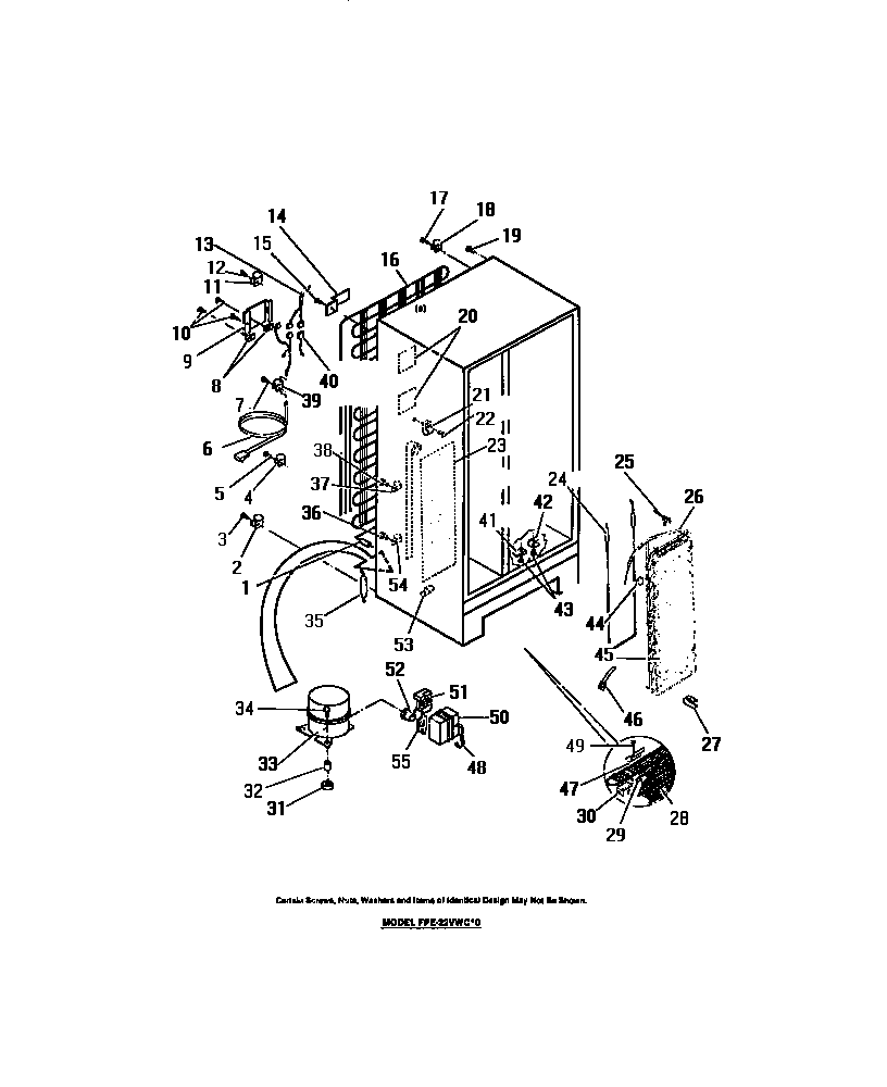
FPE22VWCF0 08 – COMPRESSOR, CONDENSER, EVAPORATORadmin2025-04-26T08:38:20+00:00FPE22VWCF0 08 – COMPRESSOR, CONDENSER, EVAPORATOR ProductsPositionProduct1WCI 80036452WCI 80087826WCI 80000649WCI 801364413WCI 801556414WCI 800029616WCI 800084520WCI 659597321CLAMP22WCI 800009823WCI 800964024WCI 801037325WCI 800080526WCI 800277827WCI 800277728WCI 800085129SCREW-BRACKET MOUNTING (4) (NON-ILLUSTRATED)30WCI 800278231WCI 800877832WCI 800275833WCI 801142434WCI 800002935WCI 800002737WCI 800013338SCREW-PANEL MOUNTING (56)39CLAMP-CABLE (3)40WCI 800961642CLAMP-STRAIN RELIEF (3)44WCI 800082845WCI 801037246WCI 800011047WCI 800278048WCI 800002049SCREW (3)50WCI 800001951WCI 800073052WCI 800073353CLAMP54WCI 800022155WCI 8000018