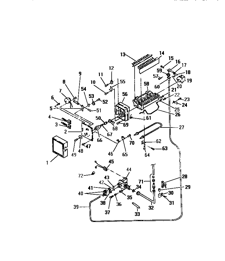
FPE26VWCH0 12 – ICE MAKER