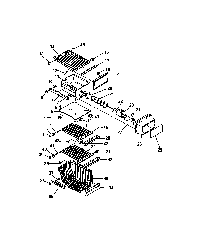
FPE26VWCL0 07 – INTERIOR FREEZER COMPARTMENT