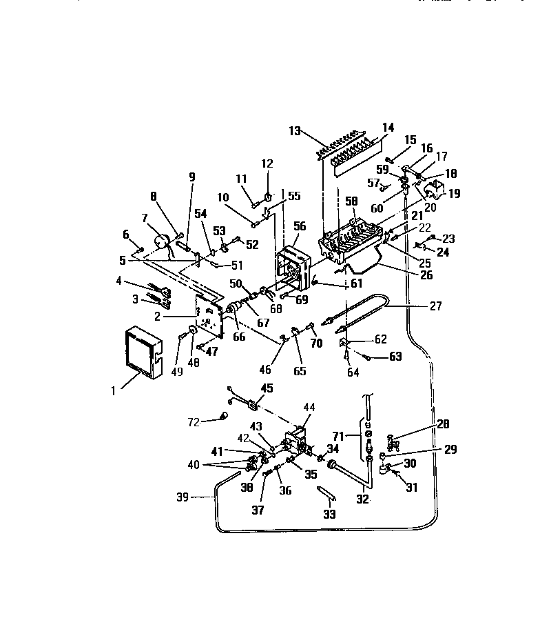
FPE26VWCW0 12 – ICE MAKERadmin2025-04-26T08:38:12+00:00FPE26VWCW0 12 – ICE MAKER ProductsPositionProduct1WCI 80002142WCI 80012394HARNESS WATER5PLATE-VALVE SW.7WCI 80012448WCI 80011569WCI 800125110WCI 800125511SCREW 4-24 X 3/413WCI 800125314STRIPPER-ICE15WCI 800115216WCI 800145917WCI 801432118WCI 800143519BEARING & INLET20WCI 800232421WCI 800126024WCI 800127225WCI 800125926ARM-SHUT OFF27WCI 800124328WCI 800121429WCI 800126330WCI 800119431SCREW32WCI 800126833WCI 800140134WCI 800114335WCI 800119536WCI 800119737WCI 800059338WCI 800116539WCI 800126941WCI 800116642WCI 800116743WCI 801069844WCI 800125845WCI 800125746SPACER-HOLD. SW.47SCREW (3)48WCI 800124849WCI 800118250WCI 800123652SCREW 4-40 X 3/4 (2)54WCI 800124155ARM-LEVER56WCI 800123557WCI 800428358WCI 800125459WCI 800117060WCI 800128861SPRING-SHUT OFF62WCI 800124663WCI 801069564SCREW65SWITCH-SHUT OFF66WCI 800124768WCI 800125069SCREW 8-32 X 170WCI 800114871WCI 8001198