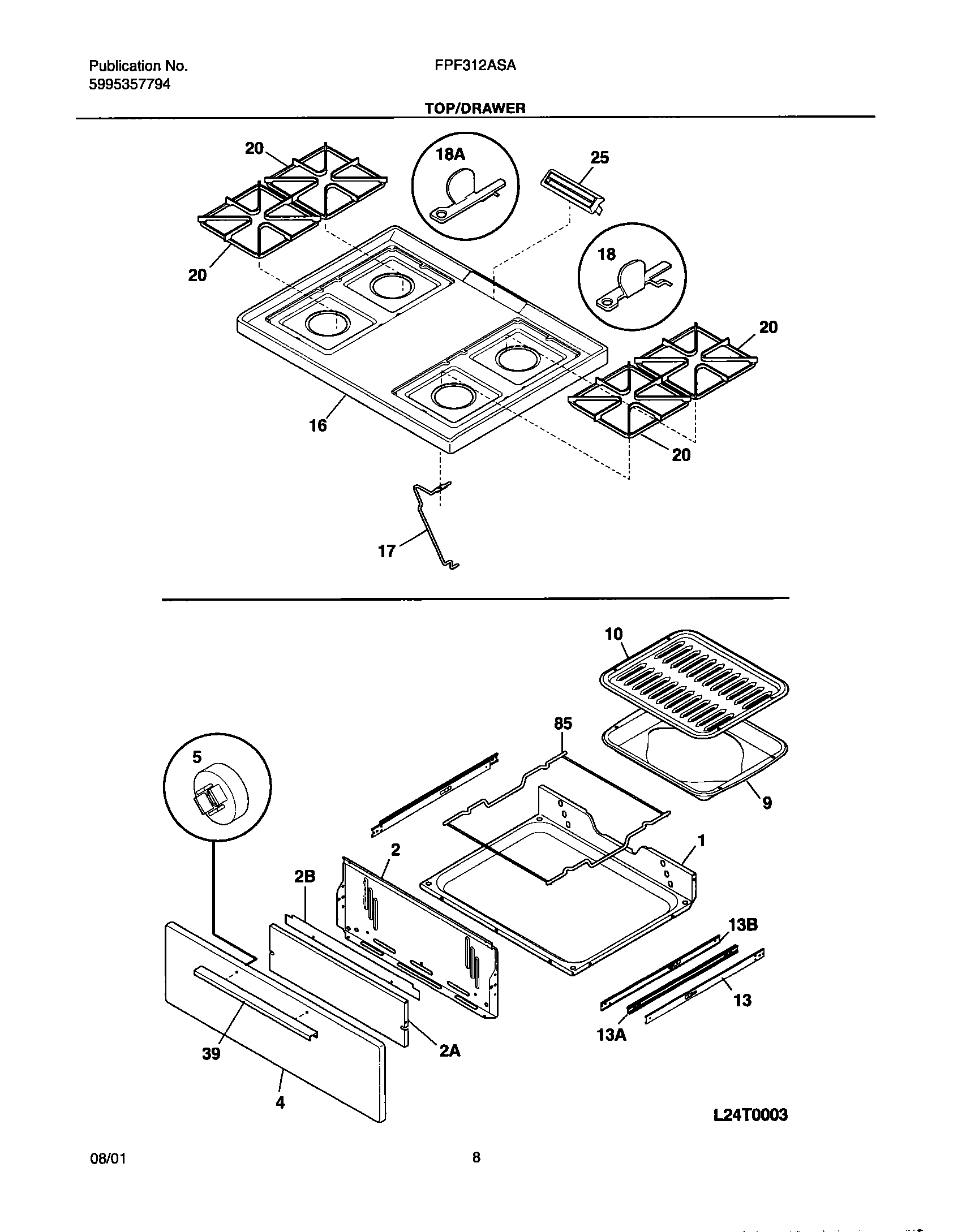
FPF312ASA 09 – TOP/DRAWERadmin2025-04-26T08:38:30+00:00FPF312ASA 09 – TOP/DRAWER ProductsPositionProductNI316021109 Frigidaire Oven ScrewNIScrew,cup pt ,8-18 x 0.375 ,chromeNIWCI 5303280311NIWCI 3160211201WCI 3161102012BWCI 3162376002AWCI 3161108002WCI 3162364014WCI 3162312115WCI 3161291009WCI 31608190010Insert,broiler panOPTIONAL ACCESS0RY13WCI 31611150213AWCI 31611160013BWCI 31611150116WCI 31610440117WCI 31606690018ABRACKET-HINGE,MAIN TOP LH18BRACKET-HINGE,MAIN TOP RH20WCI 31608890025WCI 31610450039WCI 31601951185WCI 316115600