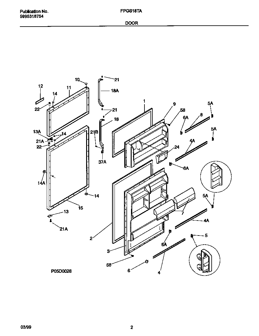
FPGS18TAL3 02 – DOOR PARTS