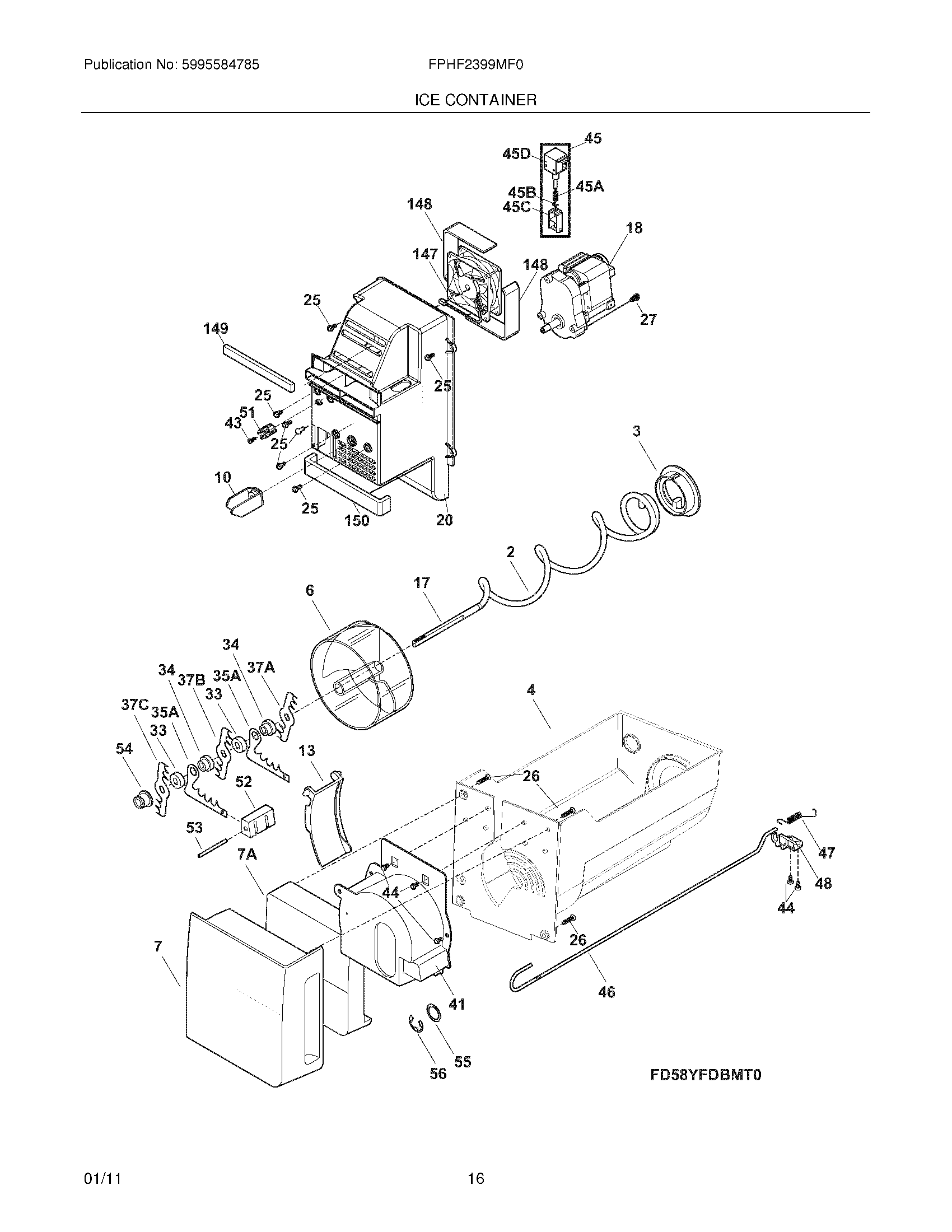
FPHF2399MF0 15 – ICE CONTAINER

FPHF2399MF0 15 – ICE CONTAINER

Products

PositionProduct
NIWCI 242030601
NI240555002 Frigidaire Refrigerator Screw #8-32 X 3/8
NI242100106 Frigidaire Refrigerator Ice Container Assembly
NI242095804 Frigidaire Refrigerator Wiring Harness
2WCI 241952301
3CAM-DRIVE
4WCI 242100201
6241829802 Frigidaire Drum Ice Dispenser
7AINSULATION, I/CONTAINER FRT
7COVER, BUCKET FRONT
10241829001 Frigidaire Refrigerator Bar Drive
13242106201 Frigidaire Refrigerator Gate
17DRIVE BLADE
18241816602 Frigidaire Refrigerator Motor-AUGER
20242095702 Frigidaire Refrigerator Air Handler Housing
26242015001 Frigidaire Refrigerator Screw
33241684802 Frigidaire Refrigerator Spacer
34241689802 Frigidaire Refrigerator Spacer
35AFIXED BLADE, ROUND
37CBLADE, CRUSHER #3
37BBLADE, CRUSHER #2
37ABLADE, CRUSHER #1
41242093301 Frigidaire Refrigerator Crusher Housing
43241641502 Frigidaire Refrigerator Screw
445304453707 Frigidaire Oven Screw
45D241675803 Frigidaire Refrigerator Freezer Ice Dispenser Solenoid
45B241676001 Frigidaire Refrigerator E-Ring Solenoid
45A241675902 Frigidaire Refrigerator Solenoid Spring
45241675704 Frigidaire Refrigerator Solenoid Assembly
45C241676101 Frigidaire Refrigerator Solenoid-Actuator
46WCI 242123702
47241839001 Frigidaire Refrigerator Spring-Control Rod
48241830101 Frigidaire Refrigerator Bracket-Control
51242095501 Frigidaire Refrigerator Anti-Twist Buck Pin
52SPACER-FIXED BLADES
53241869601 Frigidaire Refrigerator Pin
54241829601 Frigidaire Refrigerator Nut-Auger
55241690306 Frigidaire Refrigerator Washer
56241690201 Frigidaire Refrigerator E-Ring
1475304493604 Frigidaire Refrigerator Gasket & Fan Kit
148242095406 Frigidaire Refrigerator Gasket
1495303918784 Frigidaire Refrigerator Air Handler Housing