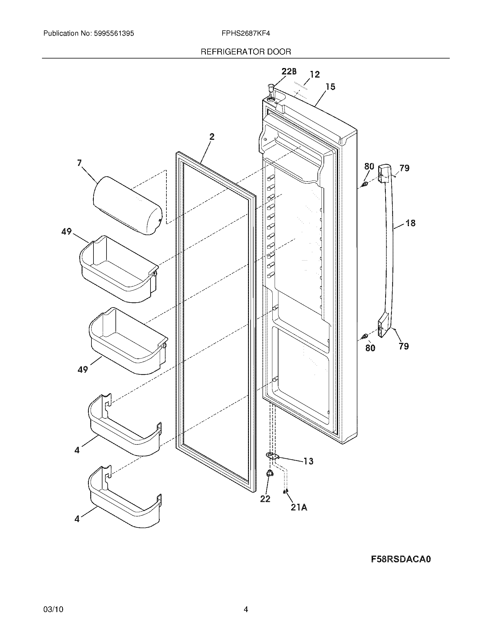
FPHS2687KF4 05 – REFRIGERATOR DOORadmin2025-04-26T08:38:41+00:00FPHS2687KF4 05 – REFRIGERATOR DOOR ProductsPositionProductNIWCI 2417804032241786001 Frigidaire Door Gasket4240323002 Frigidaire Bottom Clear Door Bin7WCI 24032620312Label-nameplate13241942603 Frigidaire Refrigerator Stop-Door/Ff Black15WCI 24183726018HANDLE-DOOR, STAINLESS21A240442708 Frigidaire Refrigerator Screw-#10-32 X 3/422B241760403 Frigidaire Refrigerator Bearing22241990301 Frigidaire Hinge Bearing49240356402 Frigidaire Refrigerator Gallon Door Bin79218755401 Frigidaire Refrigerator Screw Set80218755504 Frigidaire Refrigerator Shoulder Screw