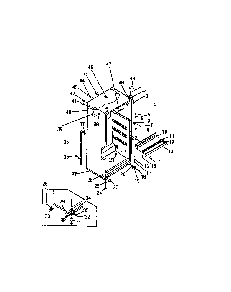
FPI16TCH0 03 – CABINET