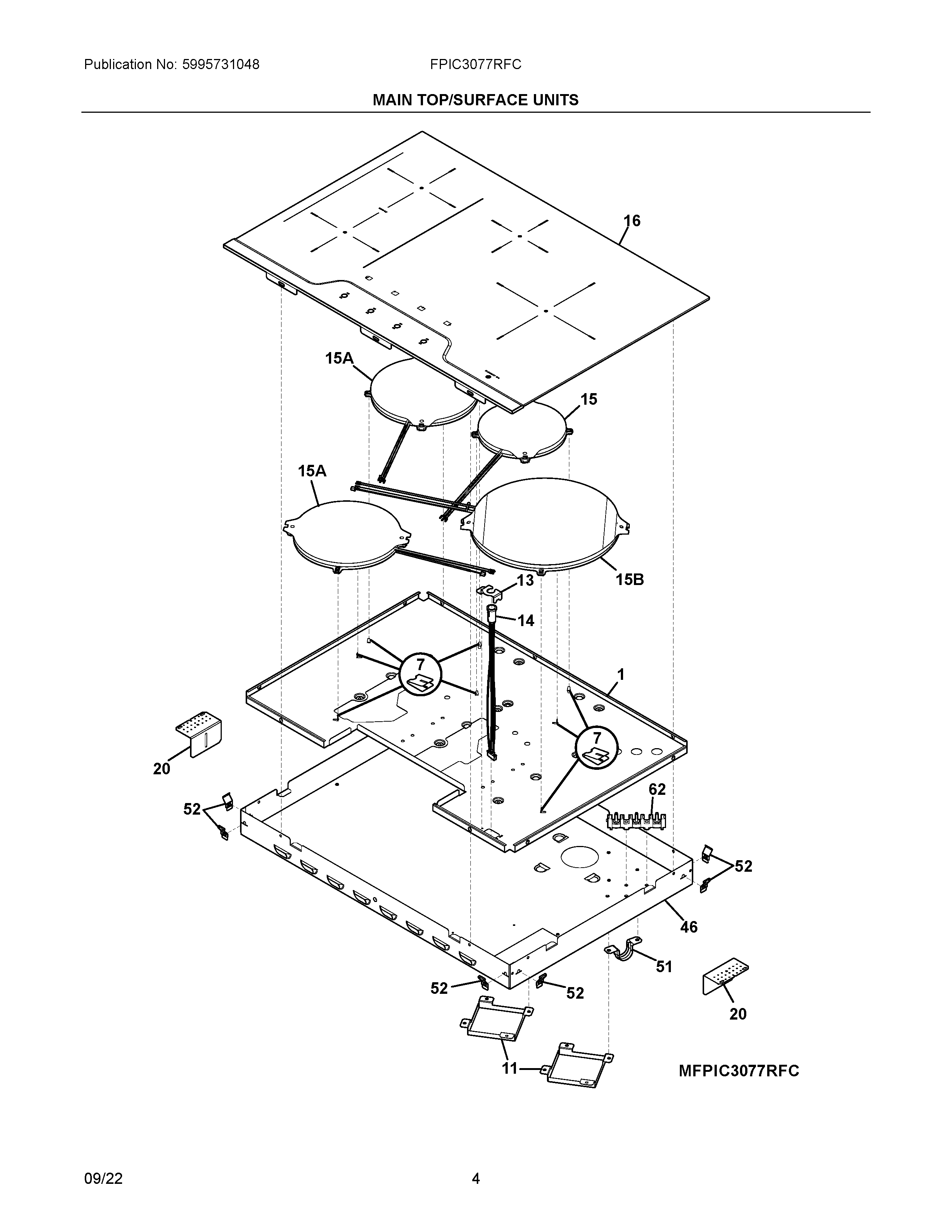
FPIC3077RFC 03 – MAIN TOP/SURFACE UNITSadmin2025-04-26T08:36:20+00:00FPIC3077RFC 03 – MAIN TOP/SURFACE UNITS
Products
| Position | Product |
|---|
| NIA | SCREW, 8 X 5/8, SPARK MODULE |
| NIB | 5303307980 Frigidaire Oven Screw |
| NI | 5304462994 Frigidaire Oven Screw |
| NIC | 305452800 Frigidaire Screw |
| NIA | SCREW, M4 |
| NIB | NUT, TERMINAL BLOCK, (2) |
| 1 | CARRIER PANEL, INDUCTION COILS, 30" |
| 7 | 808697402 Frigidaire Spring |
| 11 | 5304506079 Frigidaire Deflector |
| 13 | BRACKET, INDICATOR LIGHT |
| 14 | 5304506081 Frigidaire Light Bulb |
| 15 | 357226265 Frigidaire Element |
| 15B | 5304506082 Frigidaire Oven Heating Element |
| 15A | 357226364 Frigidaire Oven Element |
| 16 | 305638970 Frigidaire MAINTOP |
| 20 | BRACKET |
| 46 | BOX, PROTECTION, 30" |
| 51 | 318389600 Frigidaire Bracket Assembly |
| 52 | 387174602 Frigidaire Oven Bracket |
| 62 | 5304409888 Frigidaire Oven Terminal Block with Hardware |