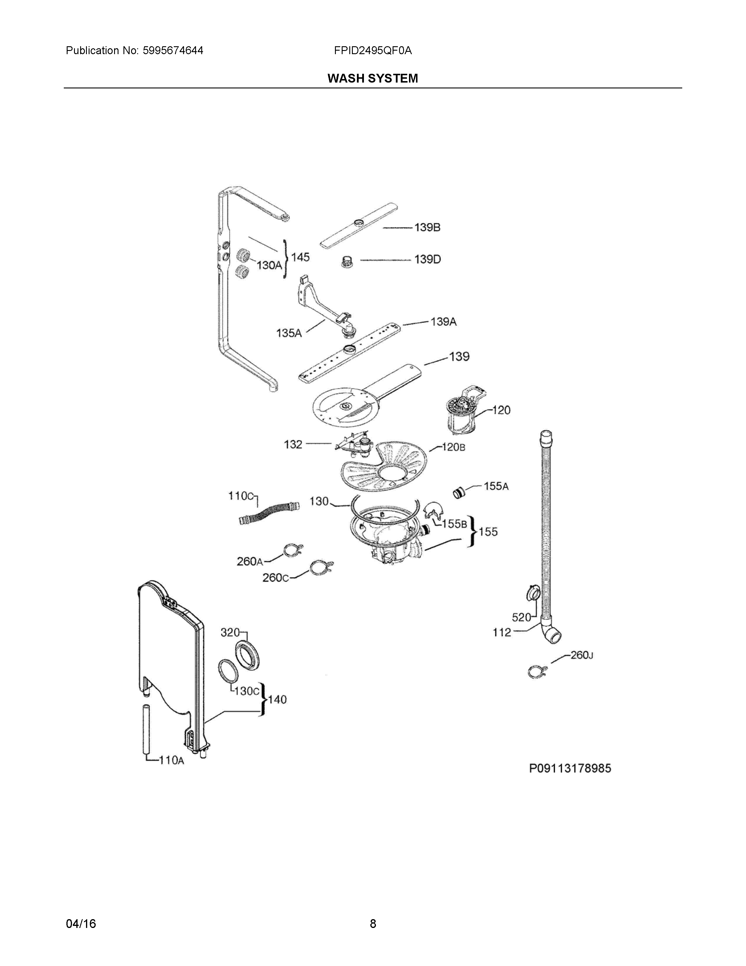
FPID2495QF0A 05 – WASH SYSTEMadmin2025-04-26T08:35:55+00:00FPID2495QF0A 05 – WASH SYSTEM ProductsPositionProductNISCREW, SUMP, 4 X 15, (4), & SPRAY ARM110A807526501 Frigidaire Dishwasher Tubing Assembly110CA00005903 Frigidaire Dishwasher Hose112807032601 Frigidaire Dishwasher Hose120BWCI 808429701120A00201409 Frigidaire Dishwasher Drain Filter130AA00045701 Frigidaire Dishwasher Seal130CWCI 5065923100130111918600 Frigidaire Dishwasher O-Ring132WCI 111915811135AA00060305 Frigidaire Dishwasher Duct Assembly139111920868 Frigidaire Lower Wash Arm139B807382106 Frigidaire Dishwasher Upper Spray Arm139D807035801 Frigidaire Wash Arm Bearing139A808321102 Frigidaire Dishwasher Spray Arm140WCI 117048173145A00023201 Frigidaire Dishwasher Spray Arm Manifold155AA00053601 Frigidaire Dishwasher Flapper1555304520660 Frigidaire Dishwasher Sump Assembly155B111917701 Frigidaire Dishwasher Screen260J807868901 Frigidaire Dishwasher Clamp260C807868903 Frigidaire Dishwasher Clamp260A807868902 Frigidaire Dishwasher Clamp320WCI 152627210520807201901 Frigidaire Dishwasher Flange