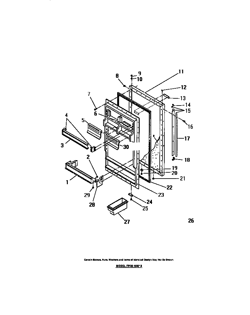
FPIM18ML3 04 – FOOD DOOR PANELSadmin2025-04-26T08:35:44+00:00FPIM18ML3 04 – FOOD DOOR PANELS ProductsPositionProduct1FRONT-SHELF (2)2WCI 80008123FRONT-SHELF (3)4AINSERT-SHELF FRONT R.H. (3)4INSERT-SHELF FRONT L.H. (3)5WCI 80069006WCI 80096649WCI 800008510WCI 800002611BPANEL-EXTERIOR FOOD DOOR12BPLUG-HINGE, ALMOND13WCI 800984314END CAP-BOTTOM (2)15HANDLE-FOOD DOOR16SCREW-HANDLE MOUNTING (4)17WCI 801023718END CAP-TOP (2)19WCI 800079020WCI 801174521BPLUG-HANDLE, ALMOND22WCI 801124123PANEL INTERIOR FOOD DOOR24WCI 800025525SCREW-PANEL MOUNTING (56)26BWCI 800874627CONTAINER-EGG28INSERT-SHELF FRONT L.H. (2)28AINSERT-SHELF FRONT R.H. (2)29WCI 800277330DOOR-SPREADS