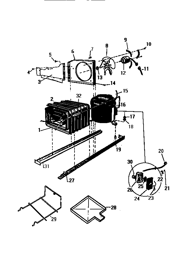
FR017RRW2 08 – COOLING SYSTEM