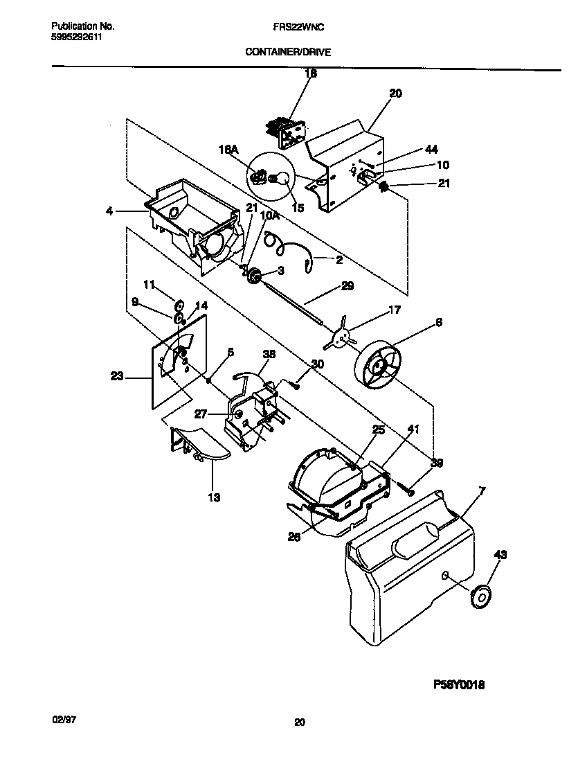
FRS22WNCW5 11 – CONTAINER/DRIVEadmin2025-04-26T08:34:50+00:00FRS22WNCW5 11 – CONTAINER/DRIVE ProductsPositionProduct*90573WCI 2157817002WCI 2182325003WCI 2182323004AWCI 2187096004BWCI 2187377005WCI 2157481056WCI 2157528007WCI 2154216039WCI 21541970010WCI 21823280010241726501 Frigidaire Refrigerator Drive Bar11WCI 21575520013WCI 21828520014WCI 21541990015316538904 Frigidaire Oven Lamp Light16218906802 Frigidaire Light Lamp Socket17WCI 21575480018A5304462594 Frigidaire Refrigerator Motor-Auger18BHARNESS-WIRING, AUGER MOTOR (NOT ILLUSTRATED)20WCI 21528530123BRING-RETAINER (NOT ILLUSTRATED)23CSTUD (NOT ILLUSTRATED)23AWCI 21575530025WCI 21542140026215503203 Frigidaire Refrigerator Door Handle Screw27WCI 21574840029WCI 21575750130WCI 21575730038WCI 21827010039WCI 21575700041WCI 21827020043WCI 21563500044WCI 218359200