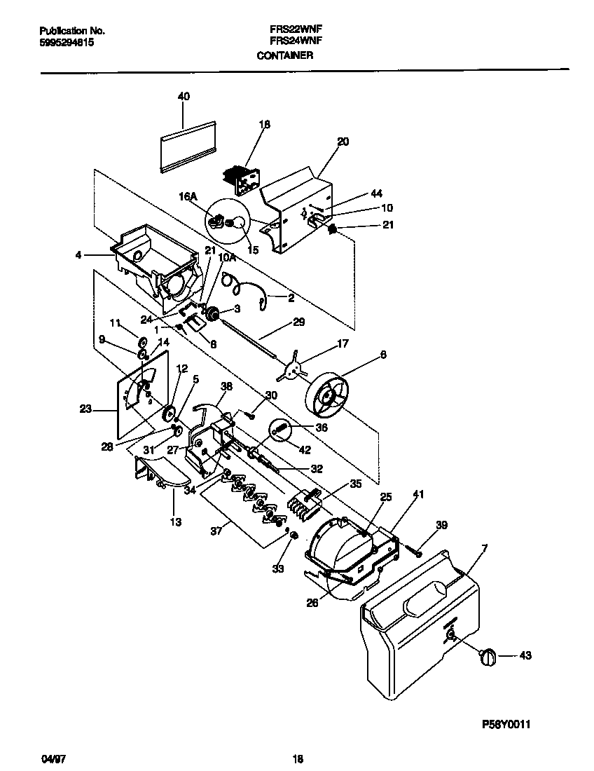
FRS22WNFW1 10 – CONTAINER