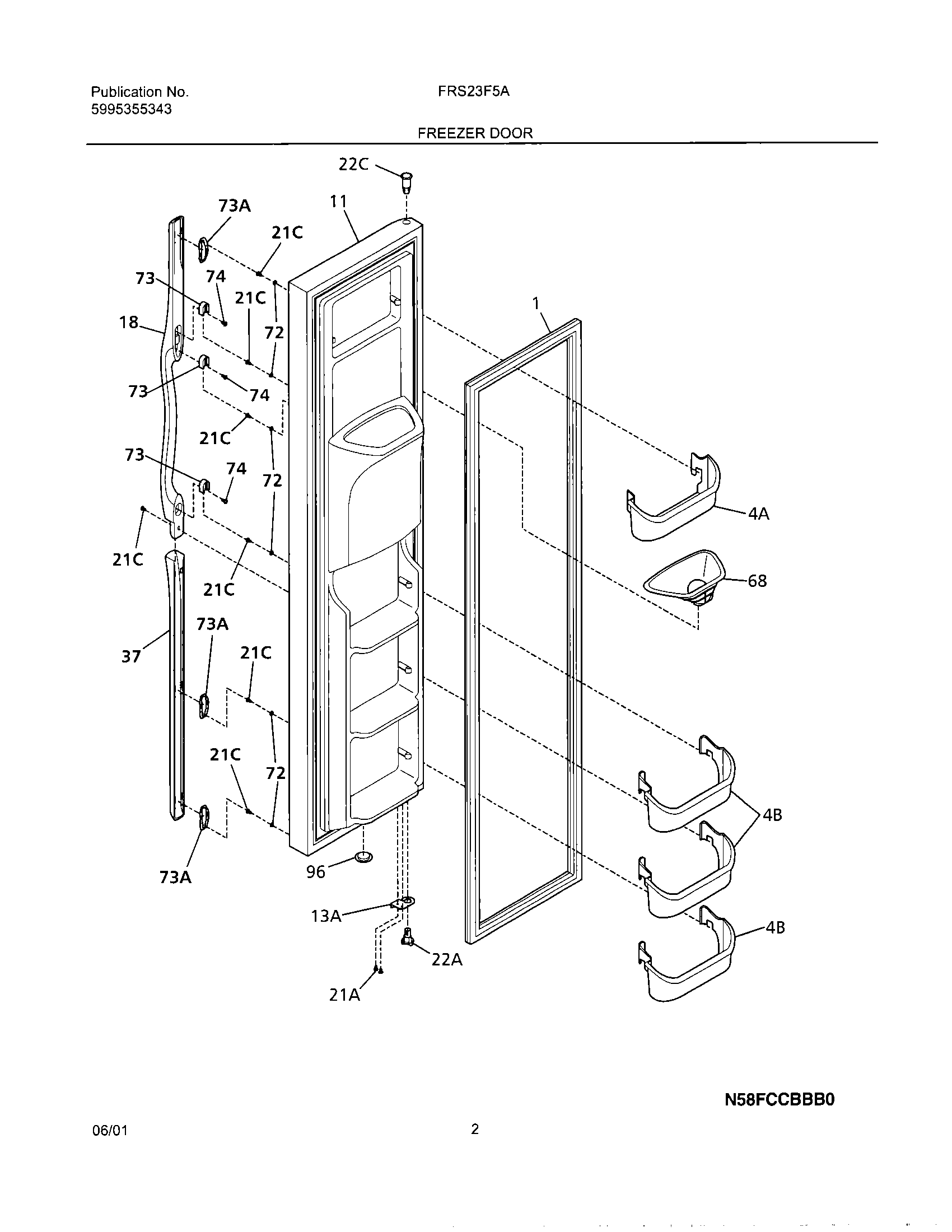
FRS23F5AB2 03 – FREEZER DOORadmin2025-04-26T08:35:36+00:00FRS23F5AB2 03 – FREEZER DOOR ProductsPositionProductNIWCI 240323201NI5303918256 Frigidaire Refrigerator Heater Kit DispenserNI240545201 Frigidaire Refrigerator Elbow P-11241786008 Frigidaire Refrigerator Gasket4B240359001 Frigidaire Refrigerator White Door Shelf Bin4A240367301 Frigidaire Refrigerator Door Bin11WCI 24045182813A5303918455 Frigidaire Refrigerator Adjustable Hinge Kit18Handle-door,black21A5304455650 Frigidaire Refrigerator Screw21C218781101 Frigidaire Handle Screw22A242000501 Frigidaire Refrigerator Hinge Bearing22C240328404 Frigidaire Refrigerator Upper Door Hinge Bearing37WCI 24035920368241525101 Frigidaire Refrigerator Chute-Ice72WCI 24042170173AWCI 24033910173218396700 Frigidaire Door Handle Mounting Block74215503203 Frigidaire Refrigerator Door Handle Screw96WCI 240345504