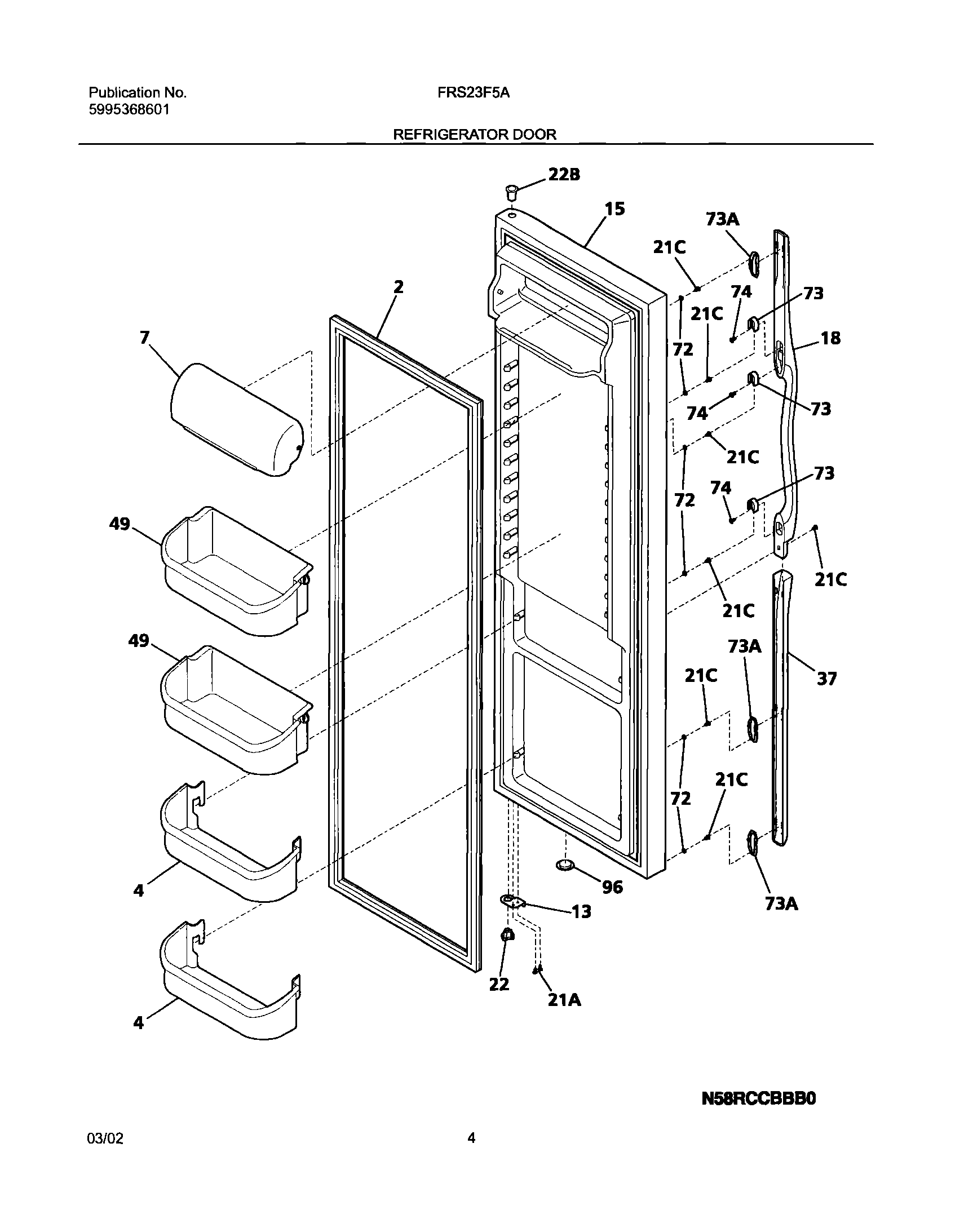
FRS23F5AB4 05 – REFRIGERATOR DOOR