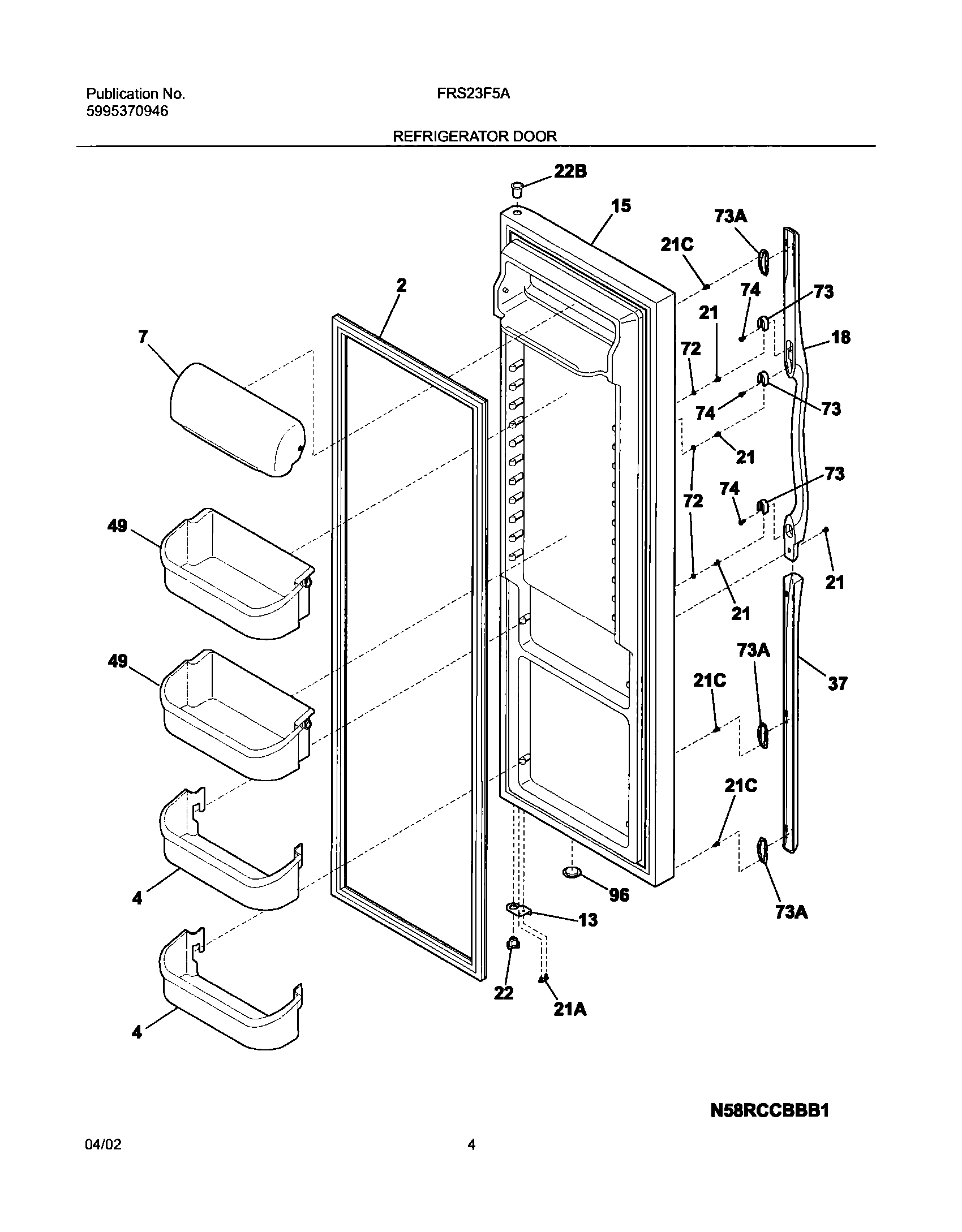
FRS23F5AW5 05 – REFRIGERATOR DOORadmin2025-04-26T08:35:48+00:00FRS23F5AW5 05 – REFRIGERATOR DOOR ProductsPositionProduct2GASKET-DOOR4240363701 Frigidaire 2 Liter Door Shelf Bin7240338313 Frigidaire Refrigerator Dairy Door135303918455 Frigidaire Refrigerator Adjustable Hinge Kit15WCI 24045191318Handle-door21C240521303 Frigidaire Refrigerator Screw21A5304455650 Frigidaire Refrigerator Screw21218781101 Frigidaire Handle Screw22BBearing-hinge,upper22240328201 Frigidaire Refrigerator Hinge Bearing37WCI 24035920149240324501 Frigidaire Bin Door Shelf72WCI 24042170173218396700 Frigidaire Door Handle Mounting Block73AWCI 24033910174215503203 Frigidaire Refrigerator Door Handle Screw96WCI 240345505