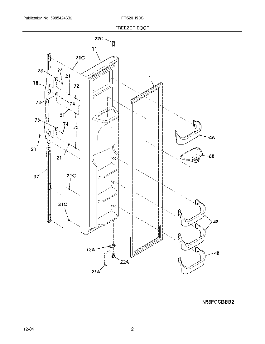
FRS23H5DSB8 03 – FREEZER DOORadmin2025-04-26T08:35:23+00:00FRS23H5DSB8 03 – FREEZER DOOR ProductsPositionProductNIWCI 218490901NI5304521763 Frigidaire Refrigerator Wiring HarnessNI5303918256 Frigidaire Refrigerator Heater Kit DispenserNI240545201 Frigidaire Refrigerator Elbow P-11241786008 Frigidaire Refrigerator Gasket4B240359001 Frigidaire Refrigerator White Door Shelf Bin4A240367301 Frigidaire Refrigerator Door Bin11WCI 24152674413A240581906 Frigidaire Refrigerator Door Stop18Handle-door,black21218781101 Frigidaire Handle Screw21A240598402 Frigidaire Refrigerator Screw21CWCI 24052130222C240328404 Frigidaire Refrigerator Upper Door Hinge Bearing22A242000502 Frigidaire Hinge Bearing37WCI 24035920368241525101 Frigidaire Refrigerator Chute-Ice72WCI 24042170173218396700 Frigidaire Door Handle Mounting Block74215503203 Frigidaire Refrigerator Door Handle Screw