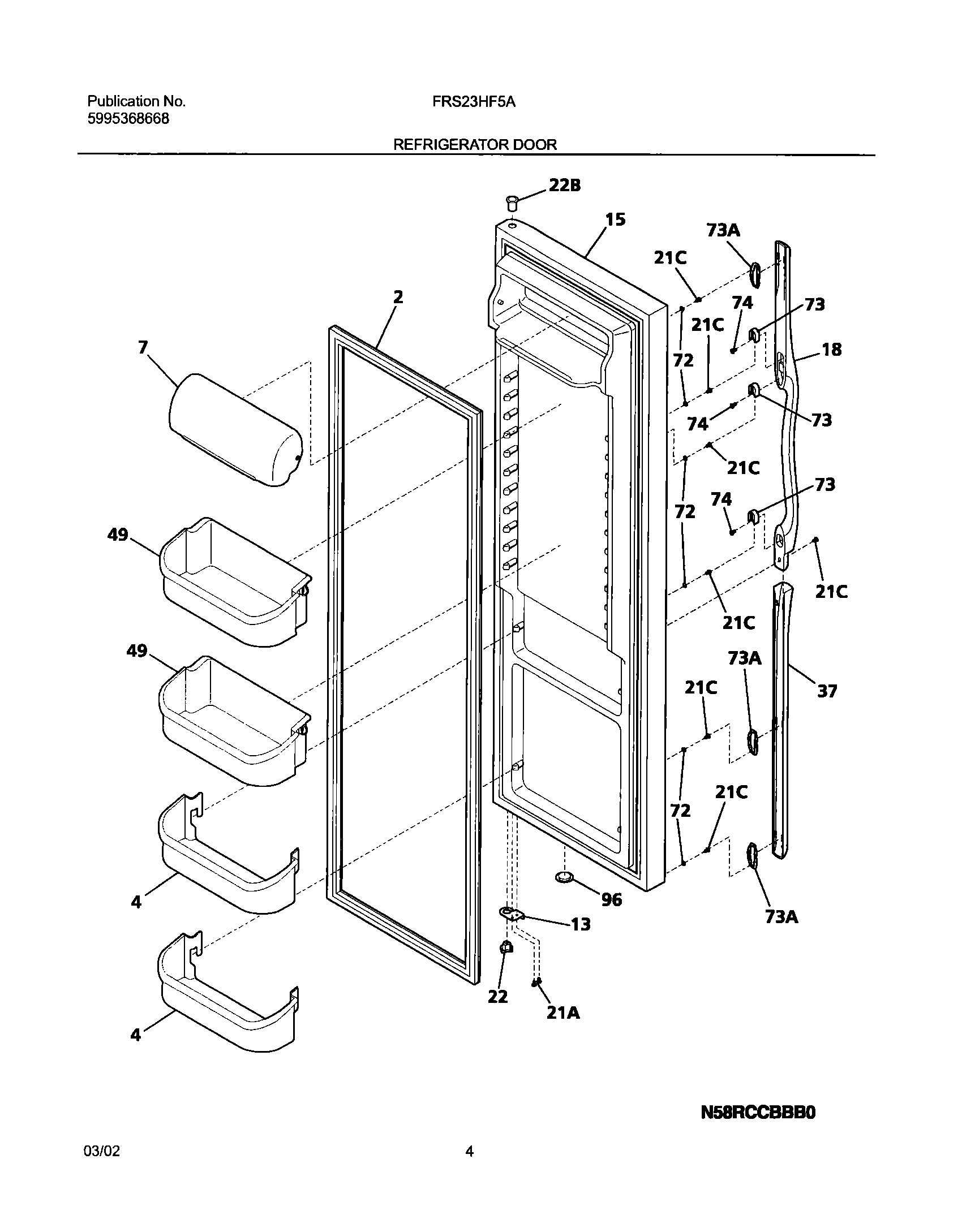
FRS23HF5AB2 05 – REFRIGERATOR DOOR