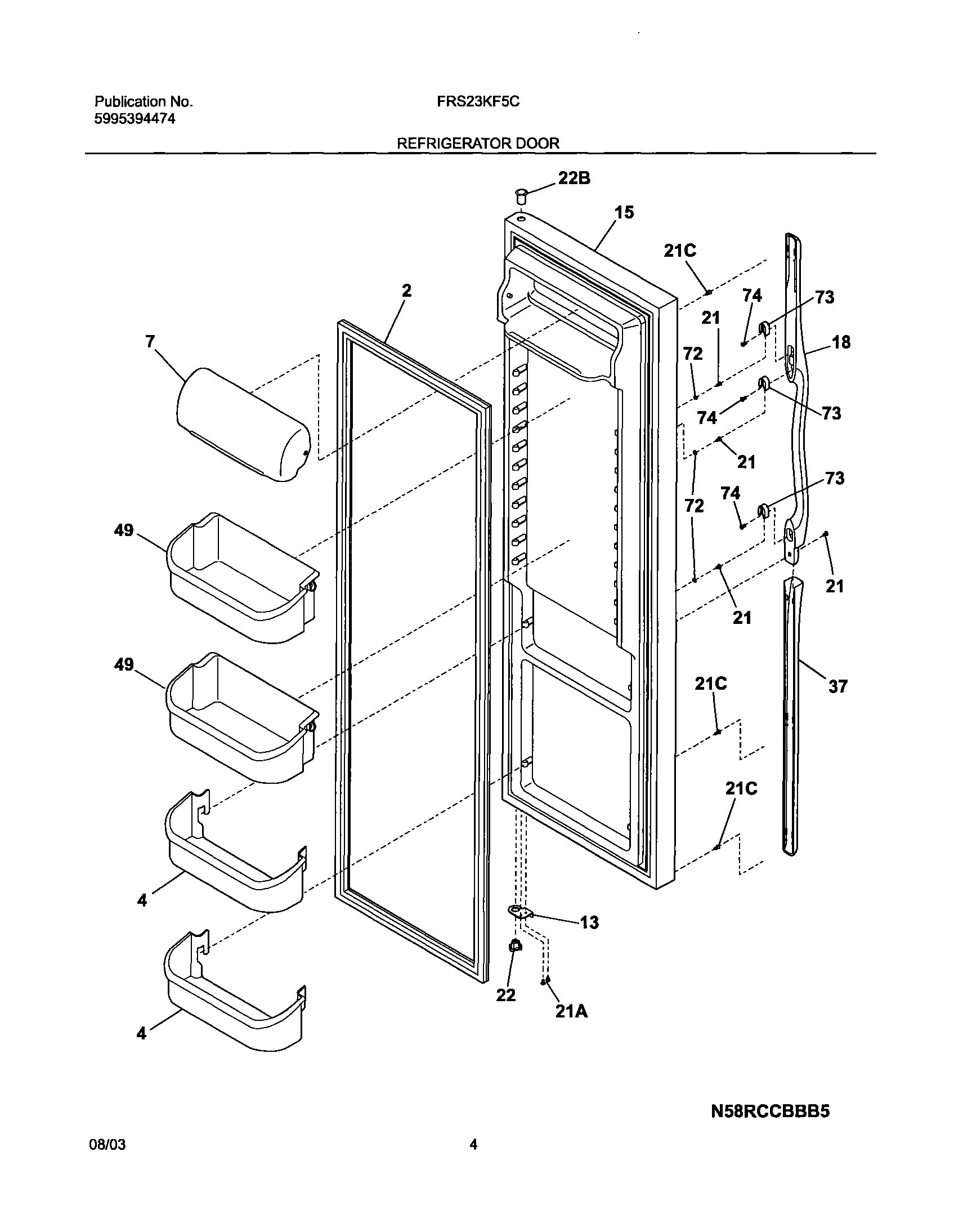
FRS23KF5CB2 05 – REFRIGERATOR DOOR