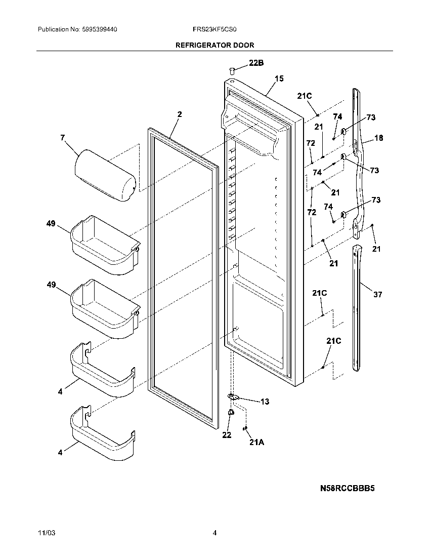
FRS23KF5CS0 05 – REFRIGERATOR DOOR