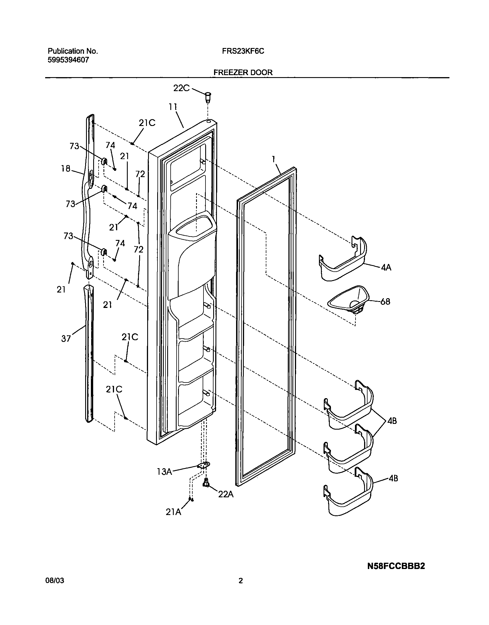
FRS23KF6CW1 03 – FREEZER DOORadmin2025-04-26T08:35:23+00:00FRS23KF6CW1 03 – FREEZER DOOR ProductsPositionProductNI5303918256 Frigidaire Refrigerator Heater Kit DispenserNIWCI 240552102NI240545201 Frigidaire Refrigerator Elbow P-11241786004 Frigidaire Refrigerator Gasket4B240359001 Frigidaire Refrigerator White Door Shelf Bin4A240367301 Frigidaire Refrigerator Door Bin11WCI 24045182013A5303918455 Frigidaire Refrigerator Adjustable Hinge Kit18Handle-door21CWCI 24052130221218781101 Frigidaire Handle Screw21A5304455650 Frigidaire Refrigerator Screw22C240328402 Frigidaire Refrigerator Bearing Hinge22A242000501 Frigidaire Refrigerator Hinge Bearing37WCI 24035920168241525101 Frigidaire Refrigerator Chute-Ice72WCI 24042170173218396700 Frigidaire Door Handle Mounting Block74215503203 Frigidaire Refrigerator Door Handle Screw