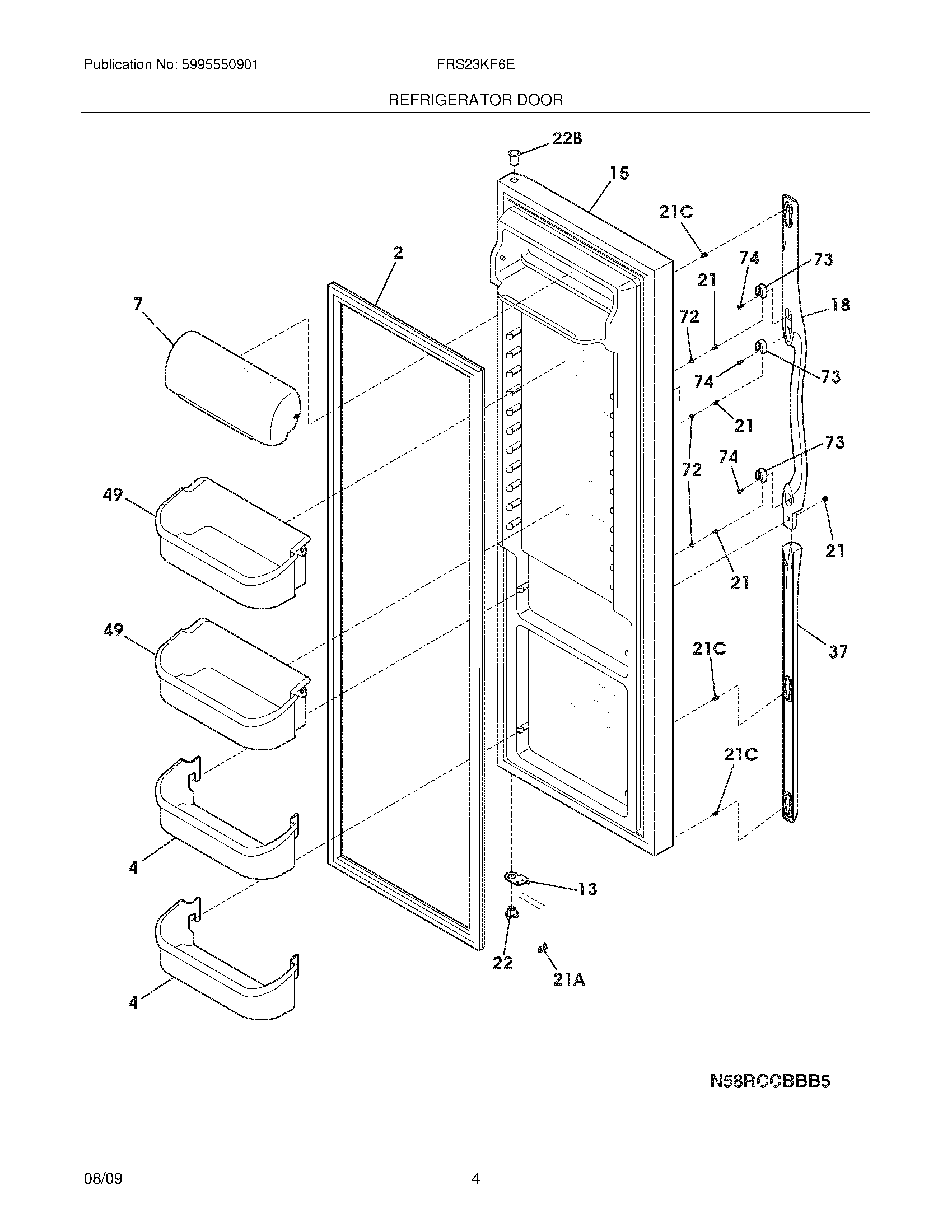
FRS23KF6EBD 05 – REFRIGERATOR DOOR