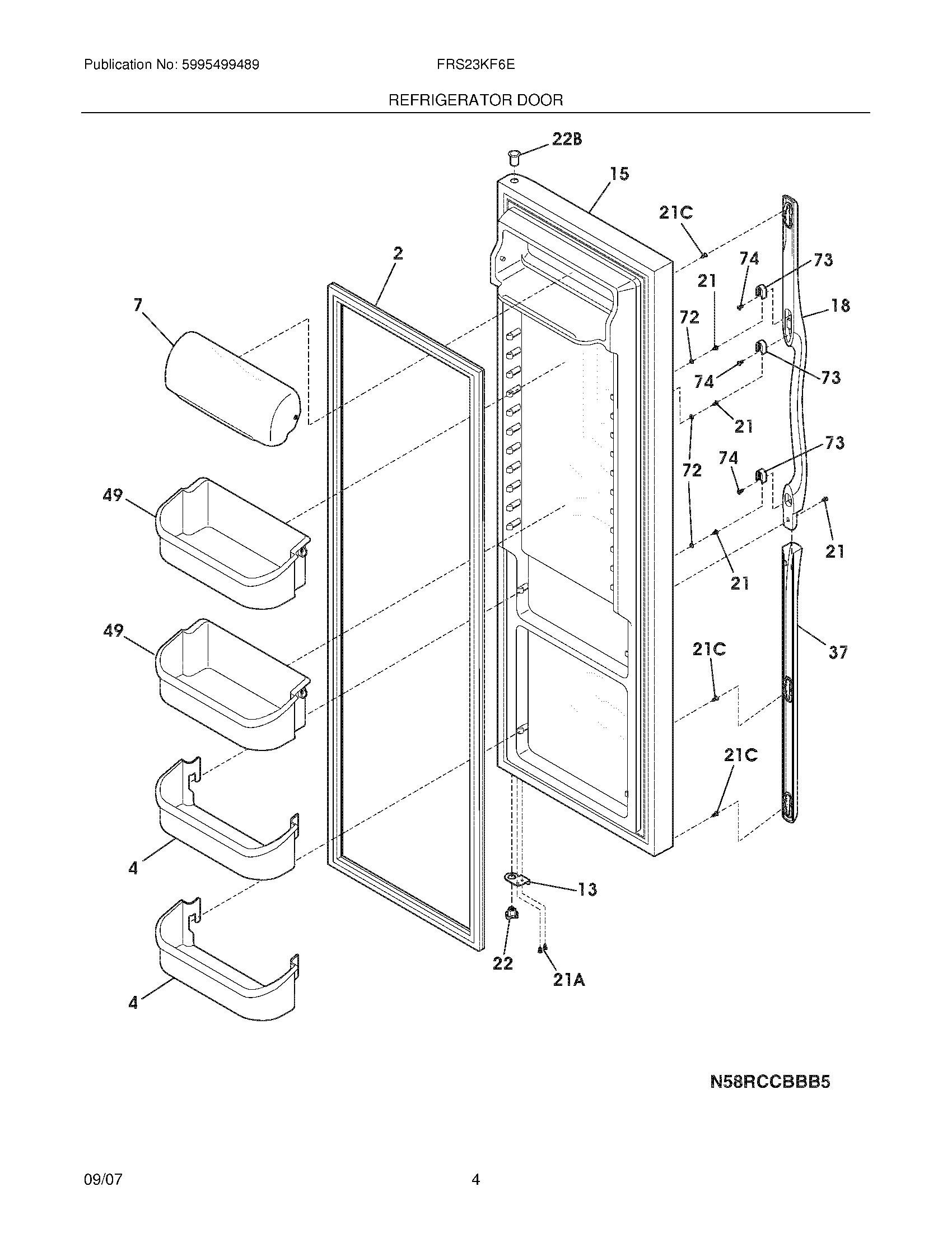
FRS23KF6EM8 05 – REFRIGERATOR DOORadmin2025-04-26T12:52:12+00:00FRS23KF6EM8 05 – REFRIGERATOR DOOR ProductsPositionProduct2GASKET-DOOR42 LITER DOOR BIN7240338313 Frigidaire Refrigerator Dairy Door13240581905 Frigidaire Refrigerator Door Stop15WCI 24153455418WCI 24171170221CWCI 24052130421218781101 Frigidaire Handle Screw21A240598402 Frigidaire Refrigerator Screw22B240328404 Frigidaire Refrigerator Upper Door Hinge Bearing22240328203 Frigidaire Refrigerator Door Hinge Bearing37WCI 24171160249240324502 Frigidaire Gallon Door Shelf Bin72WCI 24042170173218396700 Frigidaire Door Handle Mounting Block74WCI 215503204