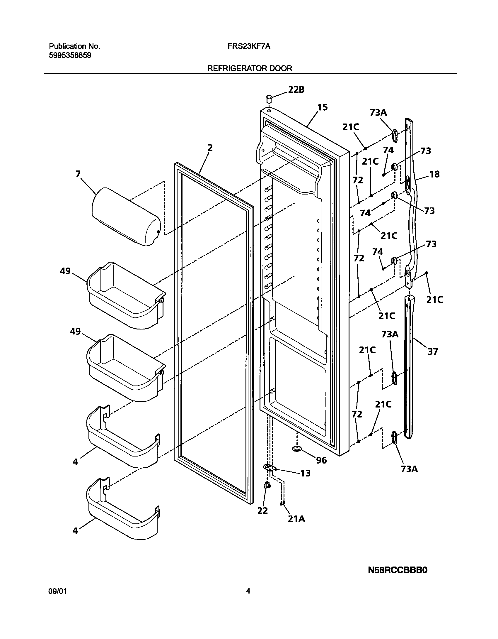
FRS23KF7AQ2 05 – REFRIGERATOR DOORadmin2025-04-26T12:47:24+00:00FRS23KF7AQ2 05 – REFRIGERATOR DOOR ProductsPositionProduct2GASKET-DOOR4240363701 Frigidaire 2 Liter Door Shelf Bin7240338313 Frigidaire Refrigerator Dairy Door135303918455 Frigidaire Refrigerator Adjustable Hinge Kit15WCI 24045191718WCI 24035910421A5304455650 Frigidaire Refrigerator Screw21C218781101 Frigidaire Handle Screw22240328201 Frigidaire Refrigerator Hinge Bearing22BBearing-hinge,upper37WCI 24035920449240324501 Frigidaire Bin Door Shelf72WCI 24042170173AWCI 24033910173218396700 Frigidaire Door Handle Mounting Block74215503203 Frigidaire Refrigerator Door Handle Screw96WCI 240345505