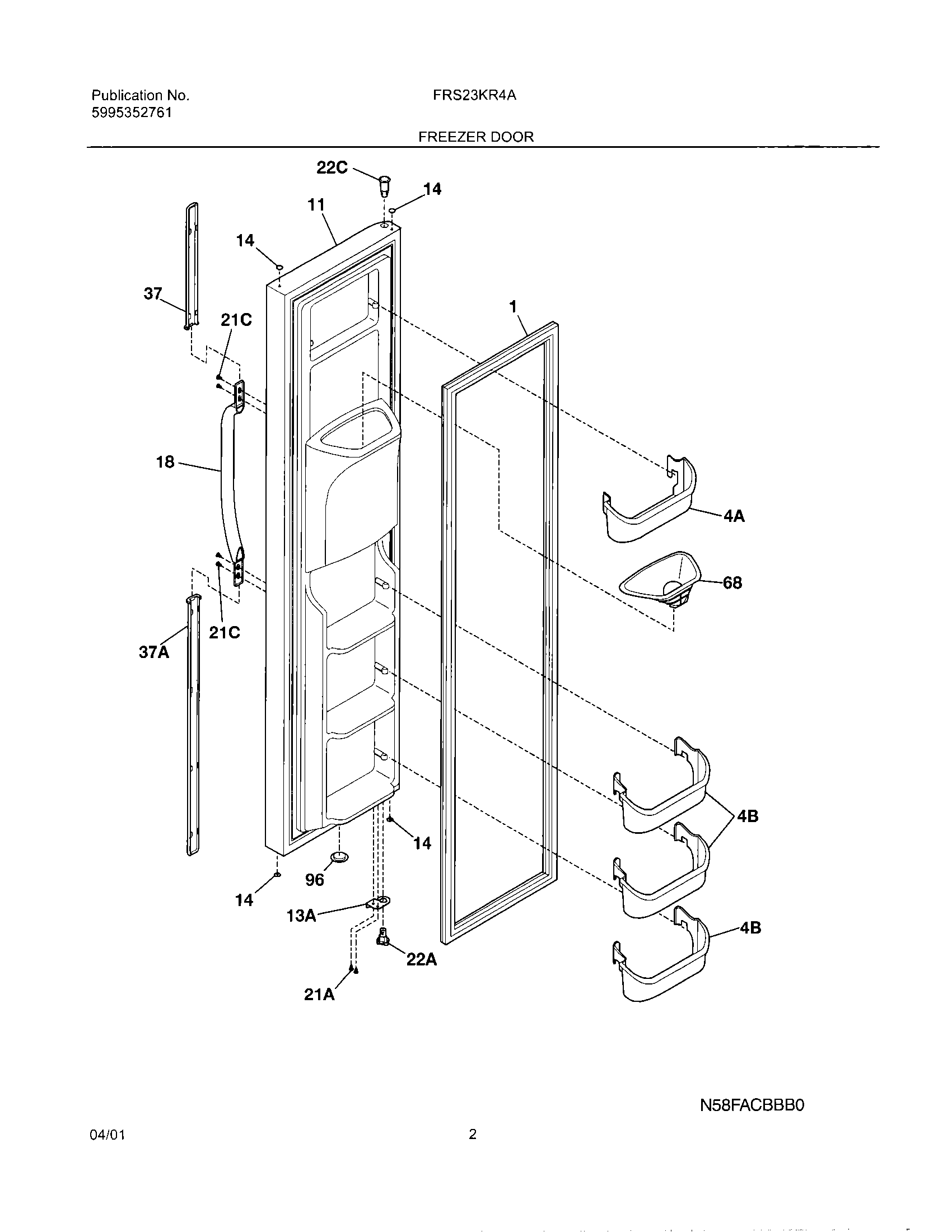
FRS23KR4AW1 03 – FREEZER DOORadmin2025-04-26T12:49:13+00:00FRS23KR4AW1 03 – FREEZER DOOR ProductsPositionProductNIWCI 240323201NIWCI 218676004NI240545201 Frigidaire Refrigerator Elbow P-11241786004 Frigidaire Refrigerator Gasket4240359001 Frigidaire Refrigerator White Door Shelf Bin4240367301 Frigidaire Refrigerator Door Bin11WCI 240451819135303918455 Frigidaire Refrigerator Adjustable Hinge Kit14240494001 Frigidaire Refrigerator Plug Button18297311201 Frigidaire Freezer Door Handle21218252201 Frigidaire Refrigerator Screw21218781101 Frigidaire Handle Screw22240328402 Frigidaire Refrigerator Bearing Hinge22242000501 Frigidaire Refrigerator Hinge Bearing37WCI 21881161837WCI 21881161537WCI 21578230068241525101 Frigidaire Refrigerator Chute-Ice96WCI 240345503