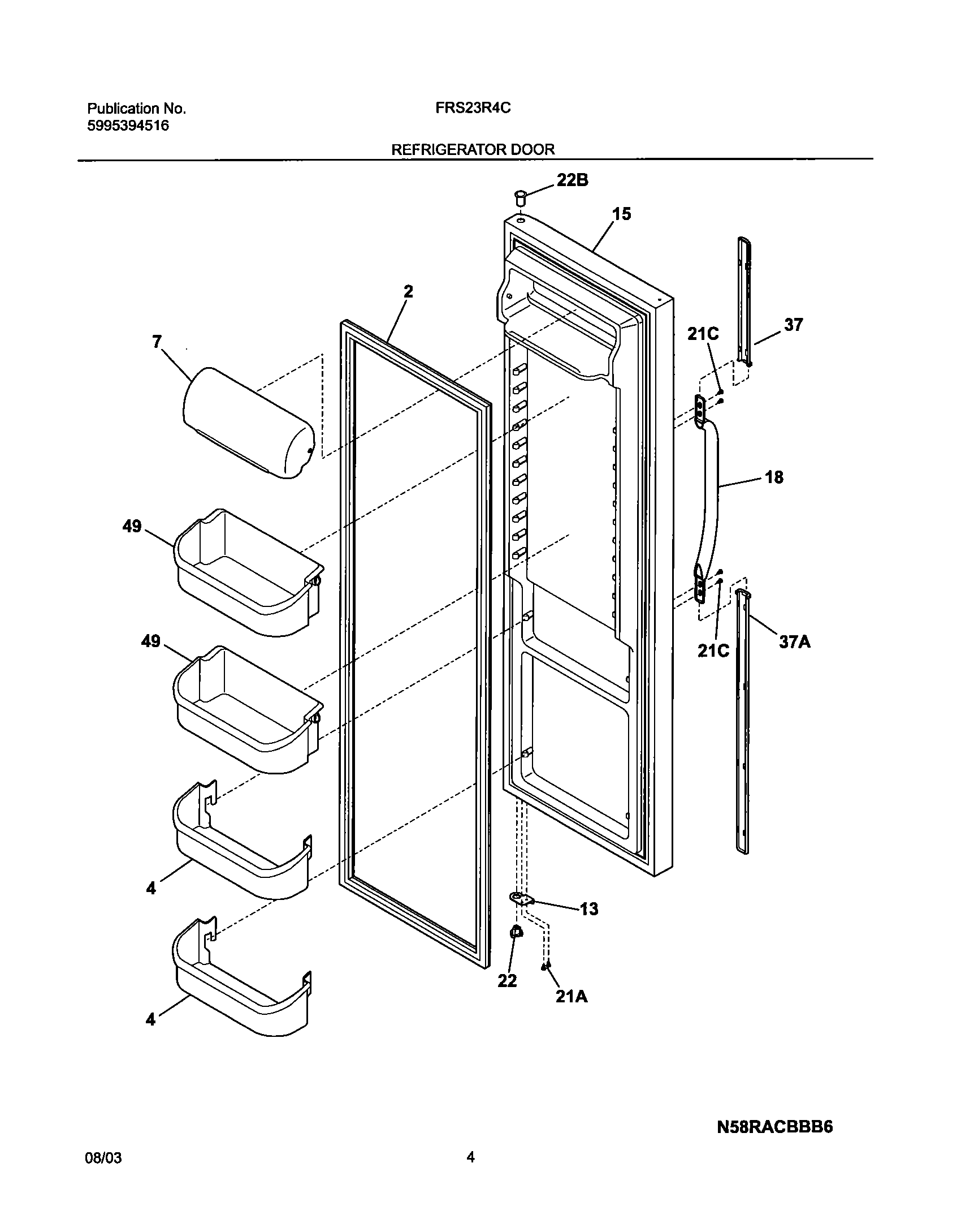
FRS23R4CW2 05 – REFRIGERATOR DOORadmin2025-04-26T12:50:40+00:00FRS23R4CW2 05 – REFRIGERATOR DOOR ProductsPositionProductNIWCI 2186760042GASKET-DOOR4240363701 Frigidaire 2 Liter Door Shelf Bin7240338313 Frigidaire Refrigerator Dairy Door135303918455 Frigidaire Refrigerator Adjustable Hinge Kit15WCI 24045191218297311201 Frigidaire Freezer Door Handle21C218781101 Frigidaire Handle Screw21A5304455650 Frigidaire Refrigerator Screw22240328201 Frigidaire Refrigerator Hinge Bearing22BBearing-hinge,upper37AWCI 21578230037AWCI 21881161537WCI 21881161849240324501 Frigidaire Bin Door Shelf